科技·商业·财经

上汽集团入股飞行器研发商沃兰特

   时间:2025-10-06 00:23 作者:企查查

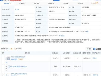
企查查APP显示,近日,上海沃兰特航空技术有限责任公司发生工商变更,新增上汽集团(600104)旗下上海上汽创远创业投资合伙企业(有限合伙)等为股东,同时注册资本增至280.66万元。企查查信息显示,该公司成立于2021年,经营范围包含:民用航空器驾驶员培训;民用航空器维修;民用航空器(发动机、螺旋桨)生产等。据其官网,沃兰特从事电动垂直起降飞行器研制。

 
 
更多>同类内容
全站最新
热门内容