科技·商业·财经

上海沿浦等成立新公司,含智能机器人业务

   时间:2025-10-12 08:01 作者:企查查

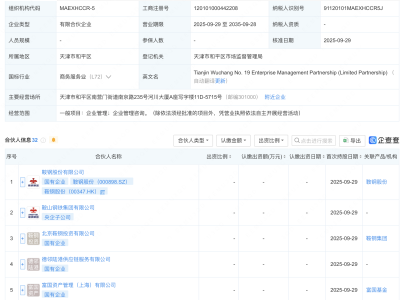
企查查APP显示,近日,上海锡纳泰克智能科技有限公司成立,注册资本3000万元,经营范围包含:智能机器人的研发;智能机器人销售;工业机器人销售;工业机器人制造等。企查查股权穿透显示,该公司由上海沿浦(605128)等共同持股。

 
 
更多>同类内容
全站最新
热门内容