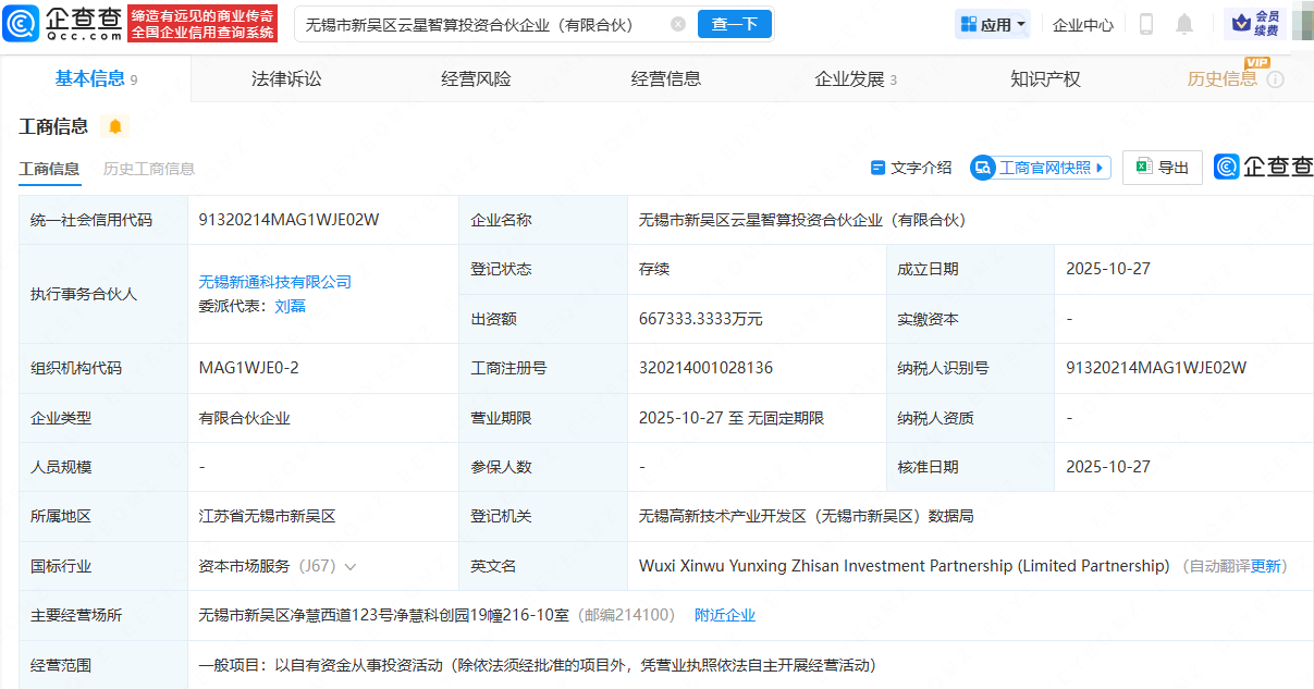
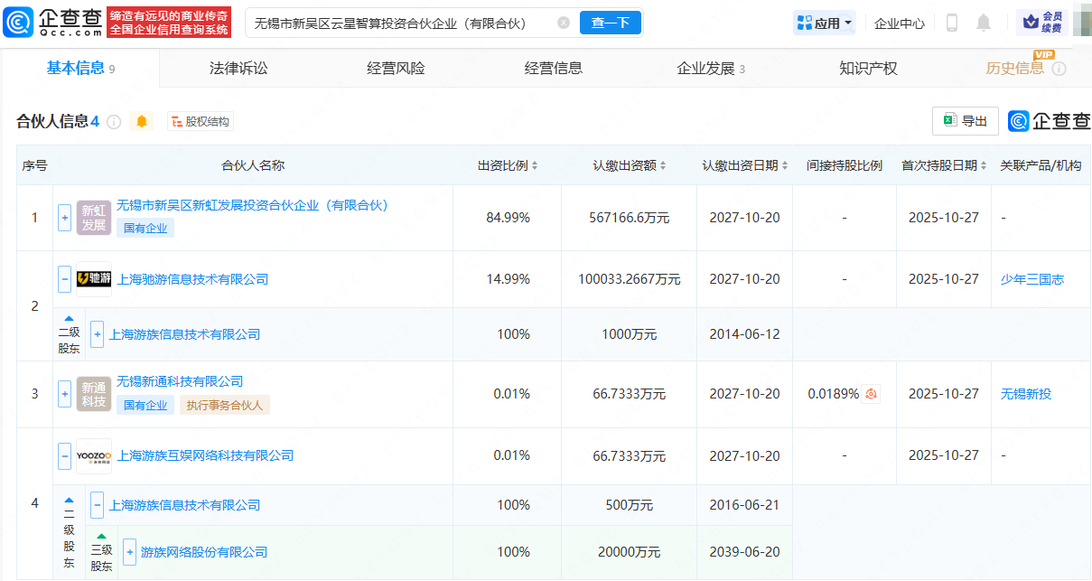
企查查APP显示,近日,无锡市新吴区云星智算投资合伙企业(有限合伙)成立,出资额约66.7亿人民币,经营范围为以自有资金从事投资活动。企查查股权穿透显示,该合伙企业由无锡新通科技有限公司、游族网络(002174)旗下上海游族互娱网络科技有限公司、上海驰游信息技术有限公司等共同出资。


企查查APP显示,近日,无锡市新吴区云星智算投资合伙企业(有限合伙)成立,出资额约66.7亿人民币,经营范围为以自有资金从事投资活动。企查查股权穿透显示,该合伙企业由无锡新通科技有限公司、游族网络(002174)旗下上海游族互娱网络科技有限公司、上海驰游信息技术有限公司等共同出资。

