科技·商业·财经

圣阳股份、山东路桥等成立开源鸿蒙数字科技公司

   时间:2025-11-05 08:01 作者:企查查

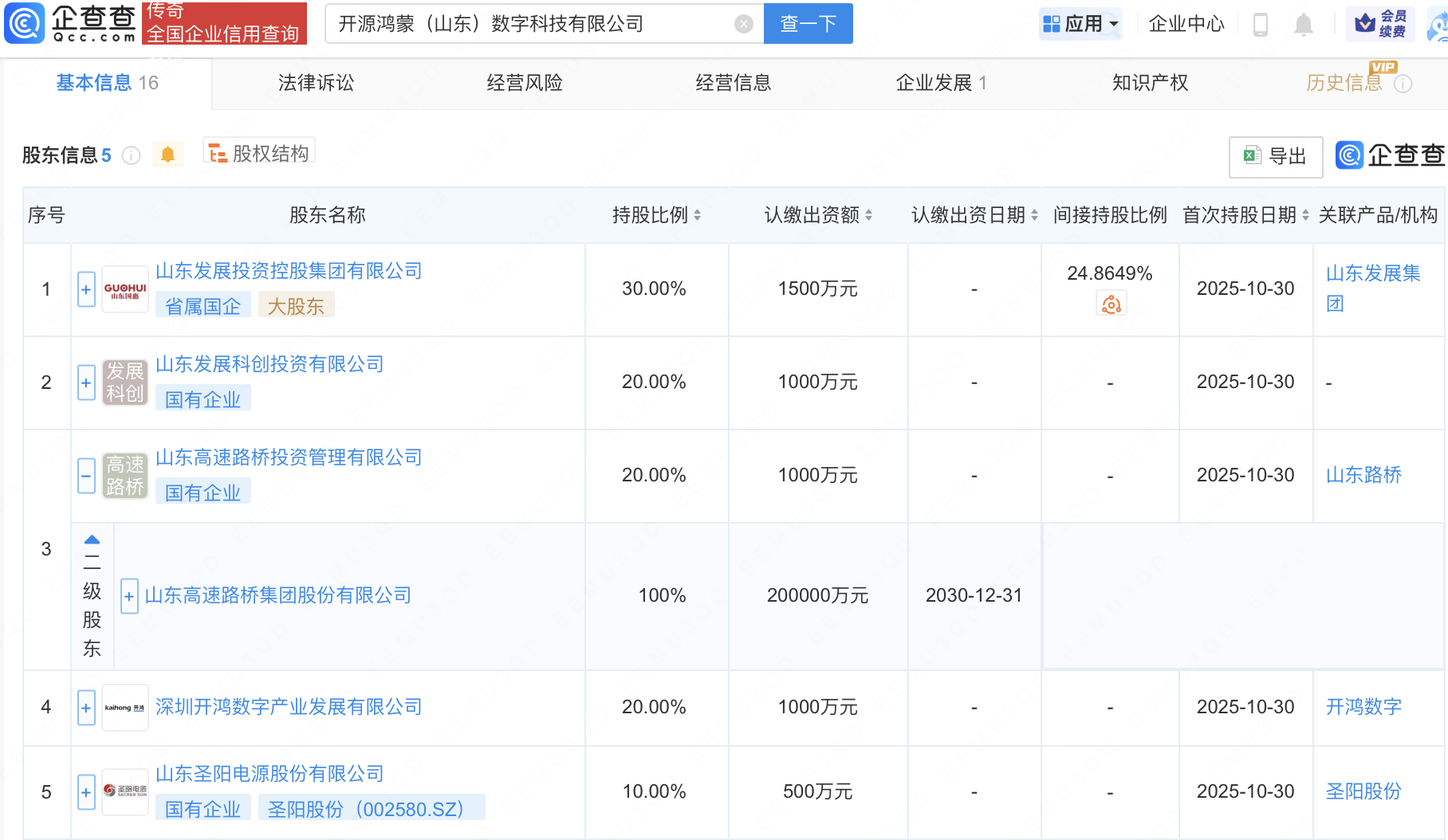
企查查APP显示,近日,开源鸿蒙(山东)数字科技有限公司成立,注册资本5000万元,经营范围包含:智能无人飞行器制造;人工智能行业应用系统集成服务;人工智能硬件销售;智能机器人销售;智能机器人的研发等。企查查股权穿透显示,该公司由山东路桥(000498)全资子公司山东高速路桥投资管理有限公司、圣阳股份(002580)等共同持股。

 
 
更多>同类内容
全站最新
热门内容