科技·商业·财经

阿里云计算等入股甄象信息科技

   时间:2025-11-19 08:01 作者:企查查

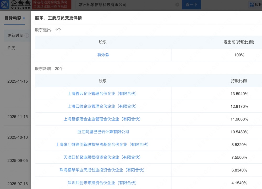
企查查APP显示,近日,常州甄象信息科技有限公司发生工商变更,蒋烁淼退出该公司股东,新增浙江阿里巴巴云计算有限公司、上海羲云企业管理合伙企业(有限合伙)、上海云绾企业管理咨询合伙企业(有限合伙)等为股东。企查查信息显示,该公司成立于今年4月,法定代表人为蒋烁淼,经营范围包括信息咨询服务、软件开发、货物进出口等。

 
 
更多>同类内容
全站最新
热门内容