科技·商业·财经

望变电气等成立智能装备科技公司,含集成电路业务

   时间:2026-01-29 08:00 作者:企查查

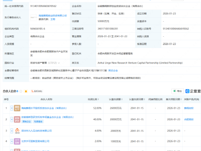
企查查APP显示,近日,重庆望来电智能装备科技有限公司成立,注册资本5000万元,经营范围包含:集成电路制造;集成电路销售;集成电路设计;其他电子器件制造;电池零配件生产等。企查查股权穿透显示,该公司由望变电气(603191)等共同持股。

 
 
更多>同类内容
全站最新
热门内容