科技·商业·财经

湘电股份成立多家能源科技公司

   时间:2026-03-25 08:00 作者:企查查

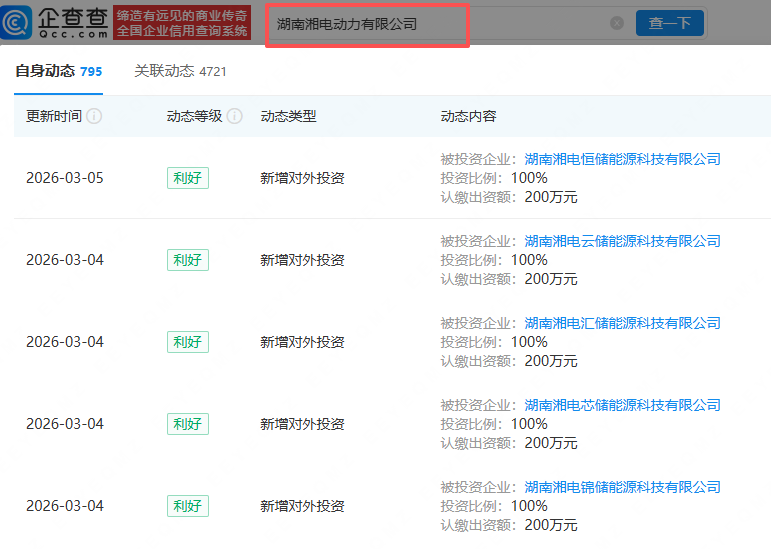
企查查APP显示,近日,湖南湘电动力有限公司对外投资成立多家能源科技公司,包括湖南湘电恒储能源科技有限公司、湖南湘电云储能源科技有限公司、湖南湘电汇储能源科技有限公司等。企查查股权穿透显示,新成立公司均由湘电股份(600416)间接全资持股。

 
 
更多>同类内容
全站最新
热门内容