网界
手机网站
站内搜索
科技·商业·财经媒体
科技·商业·财经
网站首页
网络资讯
网界财经
科技人物
数据洞察
行业动态
智能出行
智能手机
数码极客
商业资讯
网界
滚动资讯
长视频营销制胜法则:精准结构布局实现从吸引到转化的全链路升级
04-07
福州福晟大厦2026年4月再拍 整座起拍价约3.58亿元此前曾两度流拍
04-07
陈丽华离世享年85岁 商业成就斐然 曾登胡润女企业家榜前列
04-07
雷军马云罕见同框投资!杭州千寻智能30天狂揽30亿融资引关注
04-07
三峡建工集团高层变动:高鹏卸任 刘祖雄接棒董事长一职
04-07
JBL音乐世家A300:以专业音质与智能设计,开启高品质音乐生活新体验
04-07
陈丽华离世享年85岁 商业成就斐然 曾登胡润女企业家榜前列
张雪819cc三缸机:绕开海外专利壁垒,国产大排量摩托破局之路
AI智能的“节律密码”:从不停歇到学会“睡眠”的进化启示
雷军马云携手助力!千寻智能30天狂揽30亿融资,加速商业化布局
消息爆料:iPhone 18 Pro 或推灰银深红三色 红色首登 Pro 机型
石头科技新突破:洗地机外观设计获专利,引领清洁行业创新潮流
优推信息:深耕百度SEO优化,以专业策略助力企业精准抢占搜索场景
苹果首款折叠屏iPhone Fold试产启动:超高端定位 9月携多项创新亮相
科大讯飞三款学习机深度评测:护眼设计+智能辅导,助力孩子高效学习!
雷军发文庆贺:小米迎来十六载征程,科技之路稳步前行
当前位置:
网界
>
智能出行
雷军马云携手助力!千寻智能30天狂揽30亿融资,加速商业化布局
消息爆料:iPhone 18 Pro 或推灰银深红三色 红色首登 Pro 机型
优推信息:深耕百度SEO优化,以专业策略助力企业精准抢占搜索场景
科大讯飞三款学习机深度评测:护眼设计+智能辅导,助力孩子高效学习!
2026赴黔旅游选启程国旅:合规经营18年,纯玩无购物,服务口碑双优!
物联网赋能,智能消防系统守护城市安全新防线
2025-01-31
Epic免费大放送!《Undying》僵尸生存游戏等你来领
2025-01-31
微信“蓝包”送礼遇冷,强社交电商路向何方?
2025-01-30
国产AI大模型DeepSeek走红,新春为常州送上专属祝福!
2025-01-30
索泰RTX 5080 SOLID OC显卡图赏:简约外观下的卓越性能体验
2025-01-30
马斯克与DeepSeek:从暗讽到AI江湖的正面交锋?
2025-01-30
马斯克与DeepSeek:AI领域的较量与互怼
2025-01-30
保时捷Taycan冰上狂飙!46分钟132圈刷新电动车漂移最久纪录
2025-01-30
特斯拉2024财报亮点:净利润下滑,上海工厂新纪录,储能超级工厂将投产
2025-01-30
余承东爆料!华为3月将发重磅新品,万元折叠平板引期待
2025-01-30
特斯拉6月美国上线无人驾驶CyberCab,能否颠覆出行方式?
2025-01-30
三星Galaxy S25系列磁吸卡包海外开售,首发价仅14.99美元!
2025-01-30
谷歌Pixel 4a“死亡更新”真相:电池电压受限,续航大缩水
2025-01-30
Nothing Phone 3a Pro真机谍照泄露,后置三摄设计引关注
2025-01-30
年夜饭火爆!中国餐饮消费春节迎高峰
2025-01-30
《哪吒之魔童闹海》春节档大捷,单日票房破17亿刷新动画电影纪录!
2025-01-30
特斯拉财报揭晓:营收近千八,新车型助力股价逆袭涨5%
2025-01-30
阿尔法·罗密欧调整战略:燃油车回归,电动化目标生变
2025-01-30
2024全球金属3D打印市场格局大变,四家中企强势跻身前十
2025-01-30
Sonos Era 100 Pro音箱:PoE技术助力,商业安装更便捷!
2025-01-30
第
496
页/共
803
页
首页
下一页
上一页
尾页
全站最新
B站愚人节“反算法”实验:24小时彩蛋背后
盈趣科技等成立新公司,含无人飞行器业务
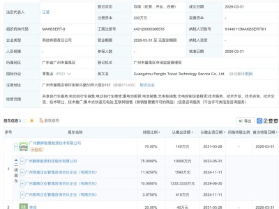
鹏辉能源等投资成立出行科技服务公司
滴滴出行、北京汽车研究总院合资成立桔汽科
推荐资讯
大晓机器人获蚂蚁集团领投天使轮融资
华为乾崑科技赋能!华境S大六座满员,于-30℃黑河顺利完成严苛冬测
马斯克身家超8500亿美元却感慨:钱买不来幸福
小米汽车火力全开!2026六款新车曝光剑指55万销量
xAI估值飙升助力,马斯克财富直逼8000亿美元里程碑
“死了么”APP官宣更名为Demumu 守护全球独居群体
小米17 Ultra徕卡版今晚登场,万元定价对标华为,能否成高端新标杆?
豆包日活用户突破1亿大关
马斯克成全球首位6000亿美元级富豪
TrendForce预测2026年人形机器人迎商用元年
点击排行
7
1
小米海外发布POCO X8 Pro系列新机,大电池高配置带来新体验
5
2
iPhone16Pro升级iOS26.4.4实测:续航提升信号改善,流畅度全面优化
4
3
沃尔玛“山姆化”转型:成效初显,未来平衡与突破之路在哪?
3
4
速腾聚创携手萝卜快跑:千线级激光雷达助力新一代Robotaxi精准感知
3
5
DeepSeek V4与姚顺雨领衔混元新模型或于4月发布,聚焦长期记忆与国产适配
3
6
AWE新观察:AI产品成热门焦点,芯片企业“走上前台”展实力
2
7
固德电材创业板成功上市!市值破百亿 业绩稳健增长前景可期
2
8
原理想汽车智驾负责人郎咸朋携手阿里系伙伴,具身智能新公司即将登场
网界 - 新财经 新科技 新未来 - 网界传媒旗下网站 - 中国 · 北京
合作咨询 微信:netspread(注明:网界)
网界
®
是本公司38类注册商标,是该商标的唯一持有者,未经授本公司授权,严禁使用。
Copyright © CNU 2012-2022 www.cnu.com.cn All rights reserved.
鲁ICP备2022032383号-6
鲁公网安备37010202700502号