科技·商业·财经

中石油天然气集团在河北新设物理中心公司,含AI业务

   时间:2025-10-02 16:02 作者:企查查

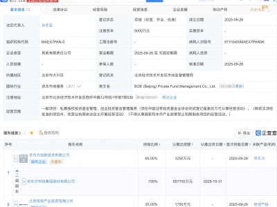
企查查APP显示,近日,国创油气地球物理中心(河北)有限公司成立,注册资本1.85亿元,经营范围包含:地质勘查技术服务;人工智能基础软件开发;人工智能理论与算法软件开发;人工智能应用软件开发等。企查查股权穿透显示,该公司由中国石油天然气集团有限公司间接全资持股。

 
 
更多>同类内容
全站最新
热门内容