科技·商业·财经

瀛通通讯等成立新公司,含AI及机器人业务

   时间:2025-10-08 16:01 作者:企查查

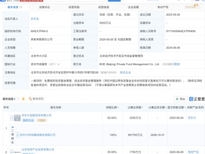
企查查APP显示,近日,上海瀛通烁米科技有限公司成立,注册资本1000万元,经营范围包含:物联网技术服务;物联网技术研发;人工智能应用软件开发;人工智能行业应用系统集成服务;智能机器人的研发等。企查查股权穿透显示,该公司由瀛通通讯(002861)等共同持股。

 
 
更多>同类内容
全站最新
热门内容