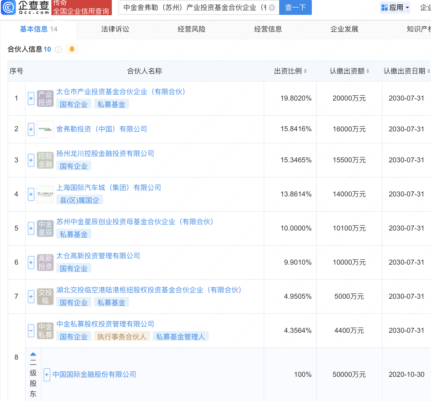
企查查APP显示,近日,中金舍弗勒(苏州)产业投资基金合伙企业(有限合伙)成立,出资额约10亿元,经营范围包含:创业投资(限投资未上市企业);股权投资。企查查股权穿透显示,该企业由中金公司(601995)全资子公司中金私募股权投资管理有限公司等共同出资。


企查查APP显示,近日,中金舍弗勒(苏州)产业投资基金合伙企业(有限合伙)成立,出资额约10亿元,经营范围包含:创业投资(限投资未上市企业);股权投资。企查查股权穿透显示,该企业由中金公司(601995)全资子公司中金私募股权投资管理有限公司等共同出资。

