科技·商业·财经

智元机器人申请注册灵渠商标,系自研发机器人操作系统

   时间:2025-11-19 16:01 作者:企查查

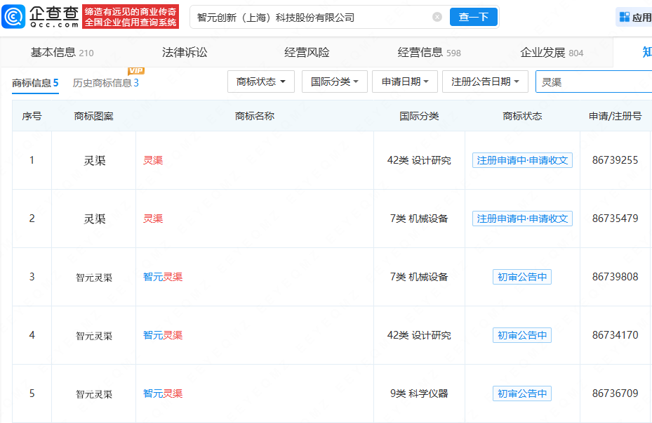
据媒体公开报道,近日,智元机器人CMO邱恒称,公司自主研发了机器人操作系统“灵渠OS”,计划今年年底正式开源。
企查查APP显示,智元创新(上海)科技股份有限公司已申请注册多个“灵渠”、“智元灵渠”商标,国际分类包括设计研究、机械设备、科学仪器。

 
 
更多>同类内容
全站最新
热门内容