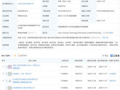
企查查APP显示,近日,苏州星沅光电科技有限公司成立,法定代表人为邱二虎,经营范围包含:电子专用材料研发;光电子器件制造;电力电子元器件销售;电子元器件制造;半导体分立器件制造等。企查查股权穿透显示,该公司由ExOptronics Inc、长光华芯(688048)全资子公司苏州长光华芯半导体激光创新研究院有限公司等共同持股。

企查查APP显示,近日,苏州星沅光电科技有限公司成立,法定代表人为邱二虎,经营范围包含:电子专用材料研发;光电子器件制造;电力电子元器件销售;电子元器件制造;半导体分立器件制造等。企查查股权穿透显示,该公司由ExOptronics Inc、长光华芯(688048)全资子公司苏州长光华芯半导体激光创新研究院有限公司等共同持股。
