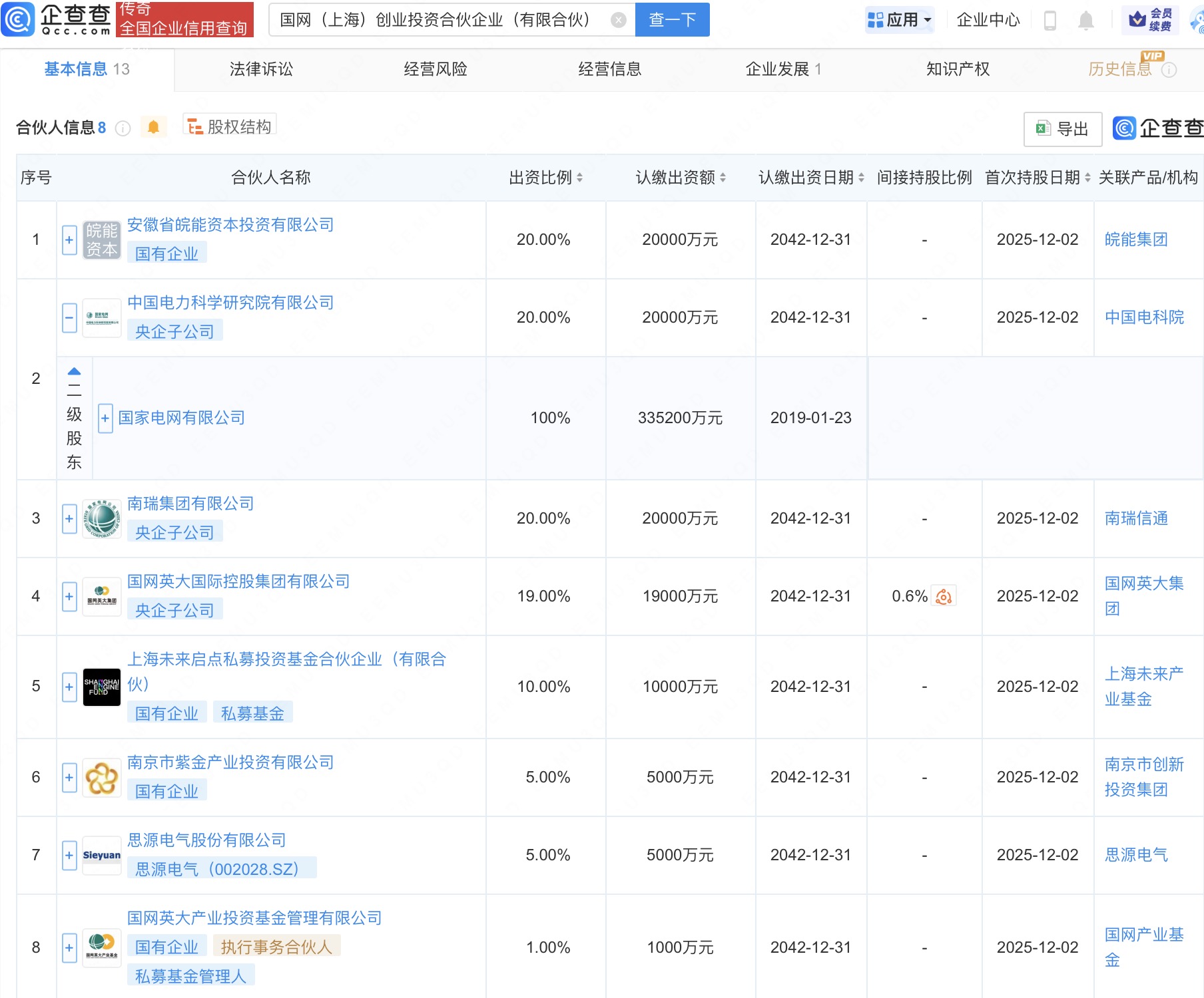
企查查APP显示,近日,国网(上海)创业投资合伙企业(有限合伙)成立,出资额10亿人民币,经营范围为创业投资;以私募基金从事股权投资、投资管理、资产管理等活动。企查查股权穿透显示,该企业由国家电网有限公司全资子公司中国电力科学研究院有限公司、思源电气(002028)等共同出资。


企查查APP显示,近日,国网(上海)创业投资合伙企业(有限合伙)成立,出资额10亿人民币,经营范围为创业投资;以私募基金从事股权投资、投资管理、资产管理等活动。企查查股权穿透显示,该企业由国家电网有限公司全资子公司中国电力科学研究院有限公司、思源电气(002028)等共同出资。

