科技·商业·财经

酒钢宏兴成立新材料公司,注册资本2亿

   时间:2025-12-10 17:03 作者:企查查

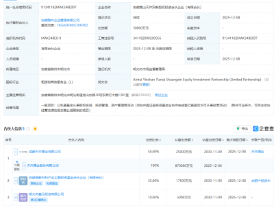
企查查APP显示,近日,酒钢集团甘肃宏兴宏博新材料有限责任公司成立,法定代表人为慕进文,注册资本2亿人民币,经营范围包括建筑用钢筋产品生产、燃气经营、道路货物运输等。企查查股权穿透显示,该公司由酒钢宏兴(600307)全资持股。

 
 
更多>同类内容
全站最新
热门内容