科技·商业·财经

云深处科技在北京成立新公司,含智能机器人的研发业务

   时间:2025-12-11 08:00 作者:企查查

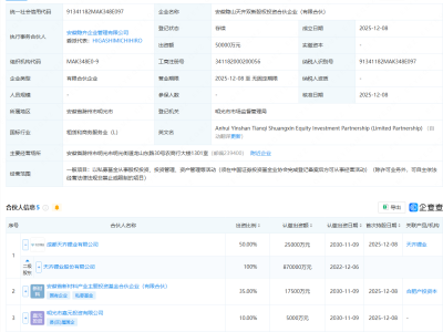
企查查APP显示,近日,北京云深处科技有限公司成立,法定代表人为李超,经营范围包含:智能机器人的研发;工业机器人制造;工业机器人销售;智能基础制造装备制造;人工智能硬件销售等。企查查股权穿透显示,该公司由杭州云深处科技股份有限公司全资持股。

 
 
更多>同类内容
全站最新
热门内容