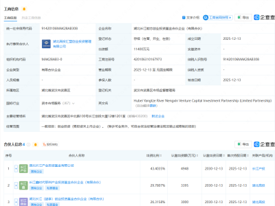
企查查APP显示,近日,金石泓芯(青岛)股权投资合伙企业(有限合伙)成立,出资额8000万元,经营范围包含:以私募基金从事股权投资、投资管理、资产管理等活动。企查查股权穿透显示,该企业由茅台金石(贵州)产业发展基金合伙企业(有限合伙)、中信金石投资有限公司共同出资。

企查查APP显示,近日,金石泓芯(青岛)股权投资合伙企业(有限合伙)成立,出资额8000万元,经营范围包含:以私募基金从事股权投资、投资管理、资产管理等活动。企查查股权穿透显示,该企业由茅台金石(贵州)产业发展基金合伙企业(有限合伙)、中信金石投资有限公司共同出资。
