科技·商业·财经

上汽集团、国泰海通等新设股权投资合伙企业,出资额10.9亿

   时间:2025-12-16 16:11 作者:企查查

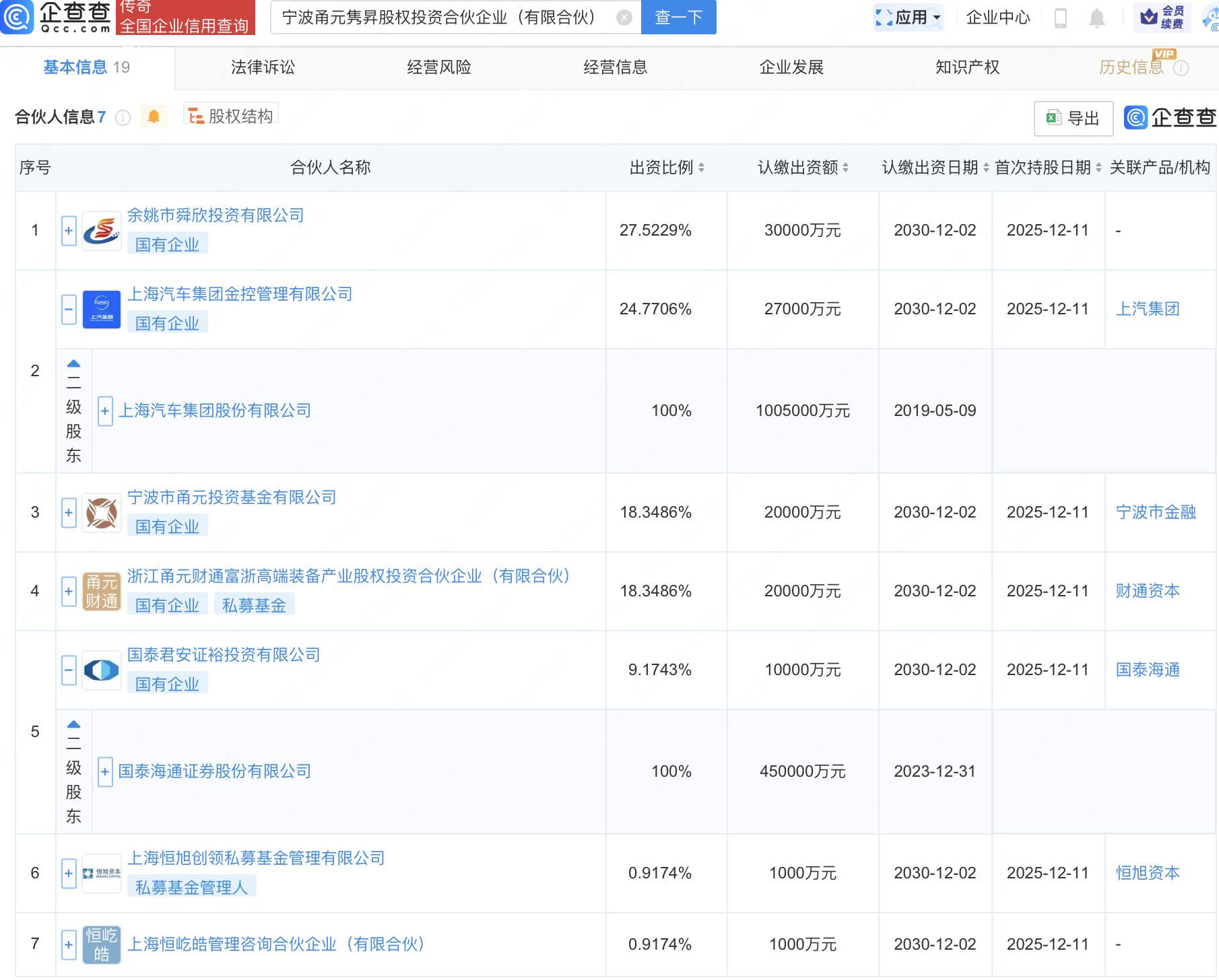
企查查APP显示,近日,宁波甬元隽昇股权投资合伙企业(有限合伙)成立,出资额10.9亿元,经营范围包含:以私募基金从事股权投资、投资管理、资产管理等活动。企查查股权穿透显示,该企业由上汽集团(600104)全资子公司上海汽车集团金控管理有限公司、国泰海通(601211)全资子公司国泰君安证裕投资有限公司等共同持股。

 
 
更多>同类内容
全站最新
热门内容