科技·商业·财经

润建股份等成立新公司,含无人飞行器及机器人业务

   时间:2025-12-18 01:02 作者:企查查

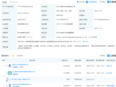
企查查APP显示,近日,润智信科能源科技(上海)有限公司成立,经营范围包含:智能无人飞行器销售;广播电视传输设备销售;智能机器人销售等。企查查股权穿透显示,该公司由润建股份(002929)等共同持股。

 
 
更多>同类内容
全站最新
热门内容