科技·商业·财经

凯撒旅业成立码头运营管理公司

   时间:2025-12-26 08:01 作者:企查查

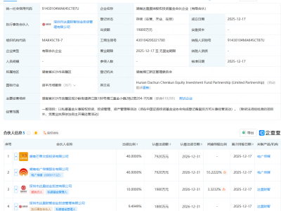
企查查APP显示,近日,青岛凯撒码头运营管理有限责任公司成立,法定代表人为张嘉诚,经营范围包含:港口经营;旅游业务;建设工程施工;口岸外轮供应;国内船舶管理业务;水路普通货物运输等。企查查股权穿透显示,该公司由凯撒旅业(000796)间接全资持股。

 
 
更多>同类内容
全站最新
热门内容