科技·商业·财经

威星智能在杭州成立机器人公司,含AI业务

   时间:2026-01-29 00:47 作者:企查查

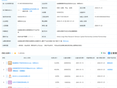
企查查APP显示,近日,杭州威盛机器人有限公司成立,注册资本1000万元,经营范围包含:智能机器人的研发;人工智能基础软件开发;人工智能应用软件开发;人工智能理论与算法软件开发等。企查查股权穿透显示,该公司由威星智能(002849)全资持股。

 
 
更多>同类内容
全站最新
热门内容