科技·商业·财经

广汽集团等成立创投基金

   时间:2026-03-15 08:00 作者:企查查

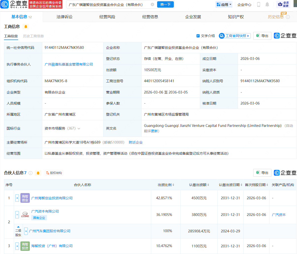
企查查APP显示,近日,广东广祺建智创业投资基金合伙企业(有限合伙)成立,出资额为1.05亿元,经营范围包含:以私募基金从事股权投资、投资管理、资产管理等活动。企查查股权穿透显示,该合伙企业由广州海智创业投资有限公司、广汽集团(601238)全资子公司广汽资本有限公司、海智投资(广州)有限公司等共同持股。

 
 
更多>同类内容
全站最新
热门内容