科技·商业·财经

宁德时代、腾讯等入股博裕新智新产股权投资基金,后者增资至40亿

   时间:2026-03-19 16:49 作者:企查查

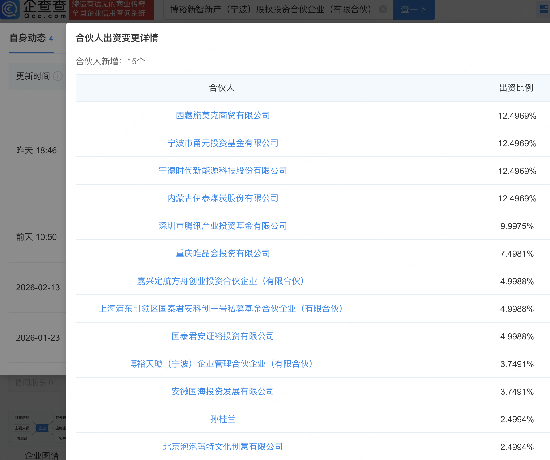
企查查APP显示,近日,博裕新智新产(宁波)股权投资合伙企业(有限合伙)发生工商变更,新增宁德时代(300750)、深圳市腾讯产业投资基金有限公司、重庆唯品会投资有限公司、北京泡泡玛特文化创意有限公司等为合伙人,同时出资额由200万元增至40.01亿元。企查查信息显示,该企业成立于2025年7月,经营范围包含股权投资。据悉,该基金主要投资于科技、医疗健康、消费品和零售领域的成长期及成熟期企业。

 
 
更多>同类内容
全站最新
热门内容