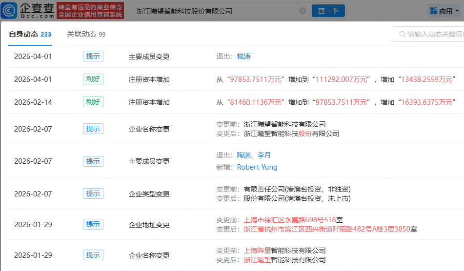
企查查APP显示,近日,GPU芯片公司曦望(Sunrise)关联公司浙江曦望智能科技股份有限公司发生工商变更,注册资本从9.79亿元增加至约11.13亿元,此前该公司已进行过一次增资,且公司类型变更为股份有限公司(港澳台投资、未上市)。
企查查显示,浙江曦望智能科技股份有限公司成立于2020年5月,法定代表人为任远,现由PowerTensors Technology Limited、广东张芯企业咨询合伙企业(有限合伙)等共同持股。资料显示,曦望专注高性能GPU研发,定位于“更懂AI的芯片公司”。






















