网界
手机网站
站内搜索
科技·商业·财经媒体
科技·商业·财经
网站首页
网络资讯
网界财经
科技人物
数据洞察
行业动态
智能出行
智能手机
数码极客
商业资讯
网界
滚动资讯
海底捞午后股价上扬 控股股东张勇拟12个月内增持超1亿港元股份
04-10
监管正式批复!张雪春获任茅台农商行副董事长及董事一职
04-10
一个中国儿童品牌11年,是怎么把楼层定位做到领先全球的?
04-10
捷途XWD技术亮相,以智能四驱重塑越野标准,引领“旅行+”迈向“越野王”新篇
04-10
18.99万起预售!捷途旅行者PLUS系列双车齐发 硬派美学与智能电混的完美融合
04-10
马斯克证实Model S/X库存告急仅剩数百辆 停产前欲购从速
04-10
监管正式批复!张雪春获任茅台农商行副董事长及董事一职
马斯克证实Model S/X库存告急仅剩数百辆 停产前欲购从速
量子计算赛道再掀热潮:两仪万象获资本青睐,科大讯飞深度布局未来产业
大金重工赴港交所递交招股书 海上风电领域“老将”2025年营收破61亿
淘宝直播十周年:以品质为锚,借效率之帆驶向消费增长新蓝海
OpenAI广告收入蓝图:今年25亿起步 2030年剑指千亿目标
CoreWeave携手Meta:210亿美元AI云协议助力人工智能开发与部署新征程
AI情感陪伴赛道受热捧 萌友智能获超千万美元融资 核心产品表现亮眼
英特尔谷歌强强联手,以至强CPU与定制IPU共推AI及云基建新发展
华为AI眼镜4月21日亮相:1799元能否破解佩戴难题 开启智能穿戴新体验?
当前位置:
网界
>
行业动态
>
正文内容
飞沃科技等成立检测技术服务公司
时间:2026-04-10 16:38
作者:企查查
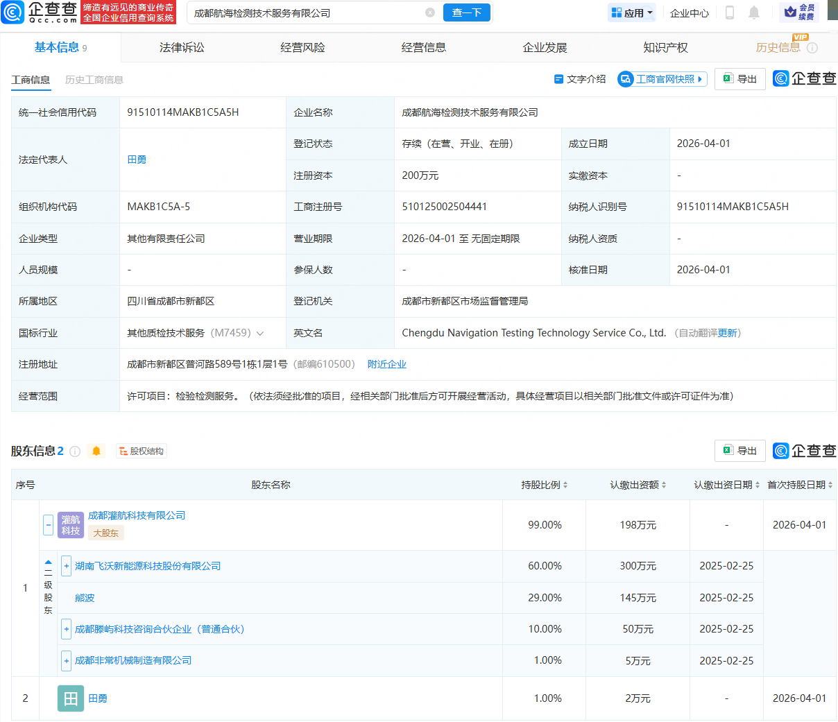
企查查APP显示,近日,成都航海检测技术服务有限公司成立,法定代表人为田勇,经营范围包含:检验检测服务。企查查股权穿透显示,该公司由飞沃科技(301232)旗下成都灌航科技有限公司等共同持股。
更多
>
同类内容
隆基绿能旗下氢能科技公司增资
04-10
追觅在枣庄投资成立智能科技公司
04-10
蓝箭航天新专利公布,可提升火箭运载效率与回收可靠性
04-10
戈碧迦成立智迦玻纤公司,注册资本1亿元
04-10
协鑫能科在重庆成立光伏发电公司
04-10
吉利、蚂蚁集团入股幺正量子,后者为量子计算公司
04-10
宗馥莉在上海成立新公司
04-10
机器人租赁市场愈发火爆!今年机器人租赁相关企业已注册超9000家
04-10
多品牌电动两轮车计划下月涨价!去年电动自行车相关企业注册创新高
04-10
监管正式批复!张雪春获任茅台农商行副董事长及董事一职
04-10
马斯克证实Model S/X库存告急仅剩数百辆 停产前欲购从速
04-10
量子计算赛道再掀热潮:两仪万象获资本青睐,科大讯飞深度布局未来产业
04-10
大金重工赴港交所递交招股书 海上风电领域“老将”2025年营收破61亿
04-10
淘宝直播十周年:以品质为锚,借效率之帆驶向消费增长新蓝海
当优质商品通过优质专业主播精准触达消费者,匹配效率就能转化为确定性增长,在直播电商的下一个十年,为商家带来红利。 4月8日,淘宝直播运营总经理梦心在刚结束的十周年直播盛典上宣布,2026年对品质直播的资源投…
04-10
OpenAI广告收入蓝图:今年25亿起步 2030年剑指千亿目标
财联社4月9日讯(编辑 夏军雄)据媒体援引消息人士报道,人工智能(AI)公司OpenAI预计今年广告收入将达到25亿美元,并有望在2030年增长至1000亿美元。这表明OpenAI正将广告视为其未来业务的核心…
04-10
点击查看更多 +
全站最新
匿名登顶全球AI榜单!阿里“欢乐马”视频模型内测,API即将开放引期待
一个中国儿童品牌11年,是怎么把楼层定位做到领先全球的?
捷途XWD技术亮相,以智能四驱重塑越野标准,引领“旅行+”迈向“越野王”新篇
18.99万起预售!捷途旅行者PLUS系列双车齐发 硬派美学与智能电混的完美融合
2026嵌入式学习资料怎么选?小智学长VS大厂,谁才是学习利器?
淘宝闪购AI店铺助手再升级:语音操控解放双手,经营效率大幅跃升
热门内容
京能电力成立能源公司,含发电技术服务业务
四川产业振兴基金等新设文旅商贸股权投资引导基金,出资额39.95亿
长鑫科技退出旗下存储技术公司,国元信托等接手
华为成功注册“华为口红”商标
海正药业等成立动物营养科技公司
正大天晴等在无锡成立股权投资合伙企业
小阔集团携手华晨宇推出“重点”品牌,精准捕捉需求开启日化家居新体验
卓胜微等成立科技新公司,含集成电路芯片业务
华为畅享90系列登场!麒麟芯+鸿蒙系统覆盖,千元档也有新选择
快手2025年业绩亮眼,可灵AI成新增长极,程一笑立下年收入翻倍目标
百度旗下基金入股日冕机器人 肖中阳投身具身智能创业引关注
中兴通讯、摩尔线程等成立产业创新中心公司
大唐发电在河北涞源成立电力科技公司
产能全开备货忙,试驾好评不断,雷军如何让小米SU7交付“加速跑”?
一文回顾去年3・15被曝光企业
本栏最新
多品牌电动两轮车计划下月涨价!去年电动自行车相关企业注册创新高
监管正式批复!张雪春获任茅台农商行副董事长及董事一职
马斯克证实Model S/X库存告急仅剩数百辆 停产前欲购从速
量子计算赛道再掀热潮:两仪万象获资本青睐,科大讯飞深度布局未来产业
大金重工赴港交所递交招股书 海上风电领域“老将”2025年营收破61亿
淘宝直播十周年:以品质为锚,借效率之帆驶向消费增长新蓝海
OpenAI广告收入蓝图:今年25亿起步 2030年剑指千亿目标
CoreWeave携手Meta:210亿美元AI云协议助力人工智能开发与部署新征程
AI情感陪伴赛道受热捧 萌友智能获超千万美元融资 核心产品表现亮眼
英特尔谷歌强强联手,以至强CPU与定制IPU共推AI及云基建新发展
华为AI眼镜4月21日亮相:1799元能否破解佩戴难题 开启智能穿戴新体验?
OPPO A6s Pro 4月14日发布:3D景深工艺+7000mAh电池,颜值性能双在线
杭州柯林等成立智造科技公司,含物联网业务
佳缘科技新设子公司,含AI相关业务
汇通能源成立电子科技公司,含半导体器件相关业务
网界 - 新财经 新科技 新未来 - 网界传媒旗下网站 - 中国 · 北京
合作咨询 微信:netspread(注明:网界)
网界
®
是本公司38类注册商标,是该商标的唯一持有者,未经授本公司授权,严禁使用。
Copyright © CNU 2012-2022 www.cnu.com.cn All rights reserved.
鲁ICP备2022032383号-6
鲁公网安备37010202700502号