网界
手机网站
站内搜索
科技·商业·财经媒体
科技·商业·财经
网站首页
网络资讯
网界财经
科技人物
数据洞察
行业动态
智能出行
智能手机
数码极客
商业资讯
网界
滚动资讯
长电科技2025年报亮眼:营收利润双增,先进封装与高成长赛道齐发力
04-11
三一重工2025年业绩亮眼:营收净利双增,国际业务成增长新引擎
04-11
MiniMax推出Music 2.6:国风音乐有“呼吸感” 游戏配乐更出彩
04-11
亿咖通科技承接Flyme OS业务,加速智能出行生态融合与高质量发展
04-11
巨人网络2025年业绩全面飘红,2026年首季净利润预计同比大增超187%
04-11
三瑞智能深交所创业板上市:动力系统领域发力 年营收利润双增长
04-11
长电科技2025年报亮眼:营收利润双增,先进封装与高成长赛道齐发力
巨人网络2025年业绩全面飘红,2026年首季净利润预计同比大增超187%
阿里HappyHorse-1.0以1347分领跑,国产视频AI开启高效普惠创作新时代
愚人节折叠屏iPhone假开箱引热议 真实形态与爆料有哪些契合点?
三星AI防诈骗功能或全球铺开,Galaxy Z Fold 8、Flip 8等折叠屏新机有望搭载
捷途XWD技术体验日启幕 旅行者PLUS双车预售 燃油插混任选18.99万起
台积电3月营收达4151.91亿新台币 同比环比双增再破月度纪录
阿里巴巴官宣认领AI视频模型HappyHorse 创新探索计划再添新成果
春晖智控成立进出口贸易公司,含工业机器人业务
杭氧股份、昆仑信托在上海成立气体新公司
当前位置:
网界
>
行业动态
>
正文内容
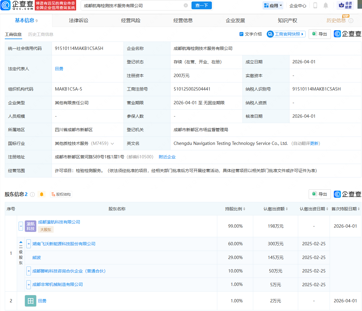
飞沃科技等成立检测技术服务公司
时间:2026-04-11 08:00
作者:企查查
企查查APP显示,近日,成都航海检测技术服务有限公司成立,法定代表人为田勇,经营范围包含:检验检测服务。企查查股权穿透显示,该公司由飞沃科技(301232)旗下成都灌航科技有限公司等共同持股。
更多
>
同类内容
隆基绿能旗下氢能科技公司增资
04-11
追觅在枣庄投资成立智能科技公司
04-11
特变电工在云南成立电气装备公司
04-11
戈碧迦成立智迦玻纤公司,注册资本1亿元
04-11
协鑫能科在重庆成立光伏发电公司
04-11
吉利、蚂蚁集团入股幺正量子,后者为量子计算公司
04-11
宗馥莉在上海成立新公司
04-11
蚂蚁集团入股消费级外骨骼企业极壳科技
04-11
郑州山姆商业零售登记成立
04-11
江苏省增资扩产战新产业基金成立,出资额100亿
04-11
长电科技2025年报亮眼:营收利润双增,先进封装与高成长赛道齐发力
04-11
巨人网络2025年业绩全面飘红,2026年首季净利润预计同比大增超187%
04-11
阿里HappyHorse-1.0以1347分领跑,国产视频AI开启高效普惠创作新时代
近日,阿里推出的视频大模型HappyHorse-1.0,凭借在ArtificialAnalysis评测中1347分的断层式成绩,直接超越行业标杆Seedance 2.0,用硬核数据印证了国产AI在视频生成领域…
04-11
愚人节折叠屏iPhone假开箱引热议 真实形态与爆料有哪些契合点?
根据现有传闻,这款折叠屏 iPhone(也有可能命名为 iPhoneUltra)将采用“阔折叠”设计:折叠状态下机身更短更宽,展开后则接近一台缩小版 iPad mini 的尺寸与比例。 同时最近有渲染图显…
04-11
三星AI防诈骗功能或全球铺开,Galaxy Z Fold 8、Flip 8等折叠屏新机有望搭载
值得注意的是,Galaxy Z Flip 8 的一个预期全球版本型号 SM-F776B 并未出现在列表中,目前尚不清楚这是疏漏还是刻意为之。Android Authority 对此表示,应用中出现的大量地…
04-11
点击查看更多 +
全站最新
MiniMax推出Music 2.6:国风音乐有“呼吸感” 游戏配乐更出彩
亿咖通科技承接Flyme OS业务,加速智能出行生态融合与高质量发展
三瑞智能深交所创业板上市:动力系统领域发力 年营收利润双增长
值得买科技亮相华为云研讨会,以AI赋能营销共探产业增长新机遇
蔚来、理想汽车领涨,热门中概股盘初表现活跃,多股呈现上升态势
现代艾尼氪入华“亮剑”:本土化设计+双路线并行,能否破局新能源市场?
热门内容
京能电力成立能源公司,含发电技术服务业务
四川产业振兴基金等新设文旅商贸股权投资引导基金,出资额39.95亿
长鑫科技退出旗下存储技术公司,国元信托等接手
华为成功注册“华为口红”商标
海正药业等成立动物营养科技公司
正大天晴等在无锡成立股权投资合伙企业
小阔集团携手华晨宇推出“重点”品牌,精准捕捉需求开启日化家居新体验
卓胜微等成立科技新公司,含集成电路芯片业务
华为畅享90系列登场!麒麟芯+鸿蒙系统覆盖,千元档也有新选择
快手2025年业绩亮眼,可灵AI成新增长极,程一笑立下年收入翻倍目标
百度旗下基金入股日冕机器人 肖中阳投身具身智能创业引关注
中兴通讯、摩尔线程等成立产业创新中心公司
大唐发电在河北涞源成立电力科技公司
产能全开备货忙,试驾好评不断,雷军如何让小米SU7交付“加速跑”?
一文回顾去年3・15被曝光企业
本栏最新
长电科技2025年报亮眼:营收利润双增,先进封装与高成长赛道齐发力
巨人网络2025年业绩全面飘红,2026年首季净利润预计同比大增超187%
阿里HappyHorse-1.0以1347分领跑,国产视频AI开启高效普惠创作新时代
愚人节折叠屏iPhone假开箱引热议 真实形态与爆料有哪些契合点?
三星AI防诈骗功能或全球铺开,Galaxy Z Fold 8、Flip 8等折叠屏新机有望搭载
捷途XWD技术体验日启幕 旅行者PLUS双车预售 燃油插混任选18.99万起
台积电3月营收达4151.91亿新台币 同比环比双增再破月度纪录
阿里巴巴官宣认领AI视频模型HappyHorse 创新探索计划再添新成果
春晖智控成立进出口贸易公司,含工业机器人业务
杭氧股份、昆仑信托在上海成立气体新公司
新石器无人车在横琴成立新公司,含外卖递送服务业务
天合光能等成立星际能源科技公司
圆通速递密集成立多家运输公司
比亚迪注册“比亚迪闪充”商标
鹏辉能源等在黑龙江成立储能科技公司
网界 - 新财经 新科技 新未来 - 网界传媒旗下网站 - 中国 · 北京
合作咨询 微信:netspread(注明:网界)
网界
®
是本公司38类注册商标,是该商标的唯一持有者,未经授本公司授权,严禁使用。
Copyright © CNU 2012-2022 www.cnu.com.cn All rights reserved.
鲁ICP备2022032383号-6
鲁公网安备37010202700502号