网界
手机网站
站内搜索
科技·商业·财经媒体
科技·商业·财经
网站首页
网络资讯
网界财经
科技人物
数据洞察
行业动态
智能出行
智能手机
数码极客
商业资讯
网界
滚动资讯
欧盟评估ChatGPT监管:用户超4500万标准,AI大模型或纳入DSA框架
04-11
特斯拉FSD受监督版本获荷兰批准,欧洲推广迈出关键一步
04-11
魅族战略转型深水区:Flyme OS易主亿咖通 共拓智能出行新生态
04-11
阿里千问下载量领跑全球:中国开源模型崛起,美国份额受挤压
04-11
京东否认涉足网约车领域 联合长安推“Open出发”新项目13日上线
04-11
马斯克“TeraFAB”宏图:从芯片革命到星际文明,开启后稀缺时代新篇章
04-11
阿里千问下载量领跑全球:中国开源模型崛起,美国份额受挤压
南通抖快信息科技新专利:互联网直播交互系统实现低延迟高稳定传输
春晖智控成立进出口贸易公司,含工业机器人业务
杭氧股份、昆仑信托在上海成立气体新公司
新石器无人车在横琴成立新公司,含外卖递送服务业务
天合光能等成立星际能源科技公司
圆通速递密集成立多家运输公司
比亚迪注册“比亚迪闪充”商标
鹏辉能源等在黑龙江成立储能科技公司
上海机电成立慧链机电发展公司,注册资本3亿元
当前位置:
网界
>
行业动态
>
正文内容
飞沃科技等成立检测技术服务公司
时间:2026-04-11 16:05
作者:企查查
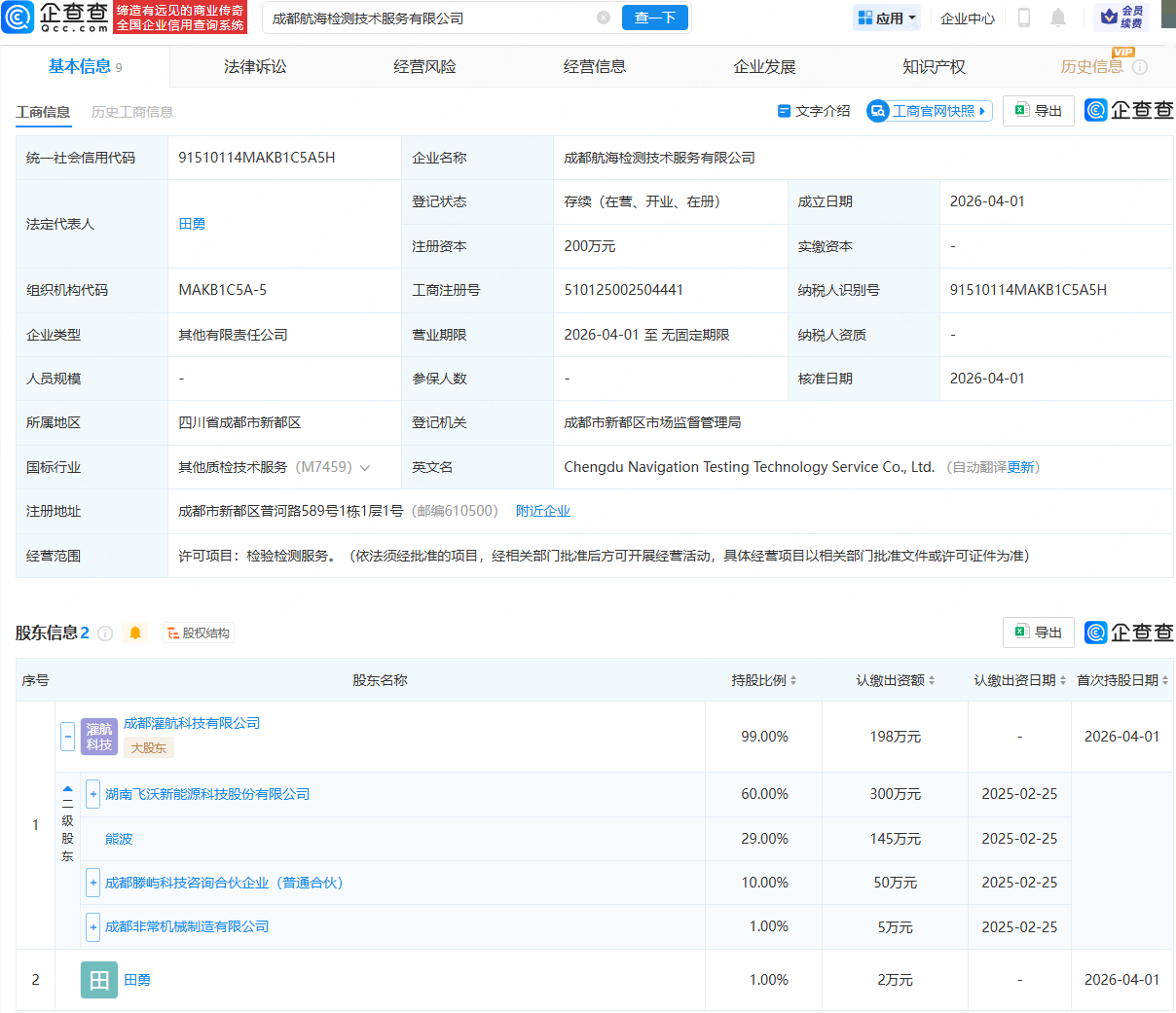
企查查APP显示,近日,成都航海检测技术服务有限公司成立,法定代表人为田勇,经营范围包含:检验检测服务。企查查股权穿透显示,该公司由飞沃科技(301232)旗下成都灌航科技有限公司等共同持股。
更多
>
同类内容
隆基绿能旗下氢能科技公司增资
04-11
追觅在枣庄投资成立智能科技公司
04-11
特变电工在云南成立电气装备公司
04-11
蓝箭航天新专利公布,可提升火箭运载效率与回收可靠性
04-11
戈碧迦成立智迦玻纤公司,注册资本1亿元
04-11
协鑫能科在重庆成立光伏发电公司
04-11
吉利、蚂蚁集团入股幺正量子,后者为量子计算公司
04-11
宗馥莉在上海成立新公司
04-11
郑州山姆商业零售登记成立
04-11
江苏省增资扩产战新产业基金成立,出资额100亿
04-11
司机卖拼豆收入反超车费!拼豆相关企业近700家,今年3月注册近400家
04-11
司机卖拼豆收入反超车费!拼豆相关企业近700家,今年3月注册近400家
04-11
阿里千问下载量领跑全球:中国开源模型崛起,美国份额受挤压
04-11
南通抖快信息科技新专利:互联网直播交互系统实现低延迟高稳定传输
国家知识产权局信息显示,南通抖快信息科技有限公司申请一项名为“一种基于互联网直播的交互系统及方法”的专利,公开号CN121842416A,申请日期为2026年3月。 专利摘要显示,本发明公开了一种基于互联网直…
04-11
春晖智控成立进出口贸易公司,含工业机器人业务
04-11
点击查看更多 +
全站最新
现代IONIQ艾尼氪入华启新篇,携两款概念车首秀,打造中国专属电动出行体验
现代IONIQ艾尼氪入华启新篇 以本土化战略打造专属电动化生态宇宙
百度伐谋Agent 2.0再夺全球第一,中国AI工程化能力再获验证
零售企业二次创业遇团队瓶颈?老板决策力成破局关键!
春晖智控成立进出口贸易公司,含工业机器人业务
杭氧股份、昆仑信托在上海成立气体新公司
热门内容
京能电力成立能源公司,含发电技术服务业务
四川产业振兴基金等新设文旅商贸股权投资引导基金,出资额39.95亿
长鑫科技退出旗下存储技术公司,国元信托等接手
华为成功注册“华为口红”商标
海正药业等成立动物营养科技公司
正大天晴等在无锡成立股权投资合伙企业
小阔集团携手华晨宇推出“重点”品牌,精准捕捉需求开启日化家居新体验
卓胜微等成立科技新公司,含集成电路芯片业务
华为畅享90系列登场!麒麟芯+鸿蒙系统覆盖,千元档也有新选择
快手2025年业绩亮眼,可灵AI成新增长极,程一笑立下年收入翻倍目标
百度旗下基金入股日冕机器人 肖中阳投身具身智能创业引关注
中兴通讯、摩尔线程等成立产业创新中心公司
大唐发电在河北涞源成立电力科技公司
产能全开备货忙,试驾好评不断,雷军如何让小米SU7交付“加速跑”?
一文回顾去年3・15被曝光企业
本栏最新
司机卖拼豆收入反超车费!拼豆相关企业近700家,今年3月注册近400家
阿里千问下载量领跑全球:中国开源模型崛起,美国份额受挤压
南通抖快信息科技新专利:互联网直播交互系统实现低延迟高稳定传输
春晖智控成立进出口贸易公司,含工业机器人业务
杭氧股份、昆仑信托在上海成立气体新公司
新石器无人车在横琴成立新公司,含外卖递送服务业务
天合光能等成立星际能源科技公司
圆通速递密集成立多家运输公司
比亚迪注册“比亚迪闪充”商标
鹏辉能源等在黑龙江成立储能科技公司
上海机电成立慧链机电发展公司,注册资本3亿元
长飞光纤、宝胜股份成立海洋工程公司
诺德股份在常州成立光储新能源公司
华电金沙江上游水电开发公司增资50%至150亿元
五粮液新设数智营销公司,注册资本1亿
网界 - 新财经 新科技 新未来 - 网界传媒旗下网站 - 中国 · 北京
合作咨询 微信:netspread(注明:网界)
网界
®
是本公司38类注册商标,是该商标的唯一持有者,未经授本公司授权,严禁使用。
Copyright © CNU 2012-2022 www.cnu.com.cn All rights reserved.
鲁ICP备2022032383号-6
鲁公网安备37010202700502号