网界
手机网站
站内搜索
科技·商业·财经媒体
科技·商业·财经
网站首页
网络资讯
网界财经
科技人物
数据洞察
行业动态
智能出行
智能手机
数码极客
商业资讯
网界
滚动资讯
OPPO A6s Pro来袭!4月14日发布,多种配色大内存配置任你选
04-12
12年沉浮终低头:昔日狂妄影帝文章,今凭32元素面寻回做人尊严
04-12
现代汽车IONIQ艾尼氪入华:携两款概念车首发,开启电动化新征程
04-11
小米食堂又出圈!自研小米冰淇淋三次迭代,背后竟藏着科技巨头的“极致基因”
04-11
现代IONIQ艾尼氪入华开启新篇,携双概念车首发,布局电动化未来
04-11
豆包2.27亿用户免费畅用:以免费策略筑牢数据基石 开启商业变现新征程
04-11
网易智企“帝王蟹”登场:AI进企业,如何筑牢安全管控“防护网”?
春晖智控成立进出口贸易公司,含工业机器人业务
杭氧股份、昆仑信托在上海成立气体新公司
新石器无人车在横琴成立新公司,含外卖递送服务业务
天合光能等成立星际能源科技公司
圆通速递密集成立多家运输公司
比亚迪注册“比亚迪闪充”商标
鹏辉能源等在黑龙江成立储能科技公司
上海机电成立慧链机电发展公司,注册资本3亿元
长飞光纤、宝胜股份成立海洋工程公司
当前位置:
网界
>
行业动态
>
正文内容
飞沃科技等成立检测技术服务公司
时间:2026-04-12 00:36
作者:企查查
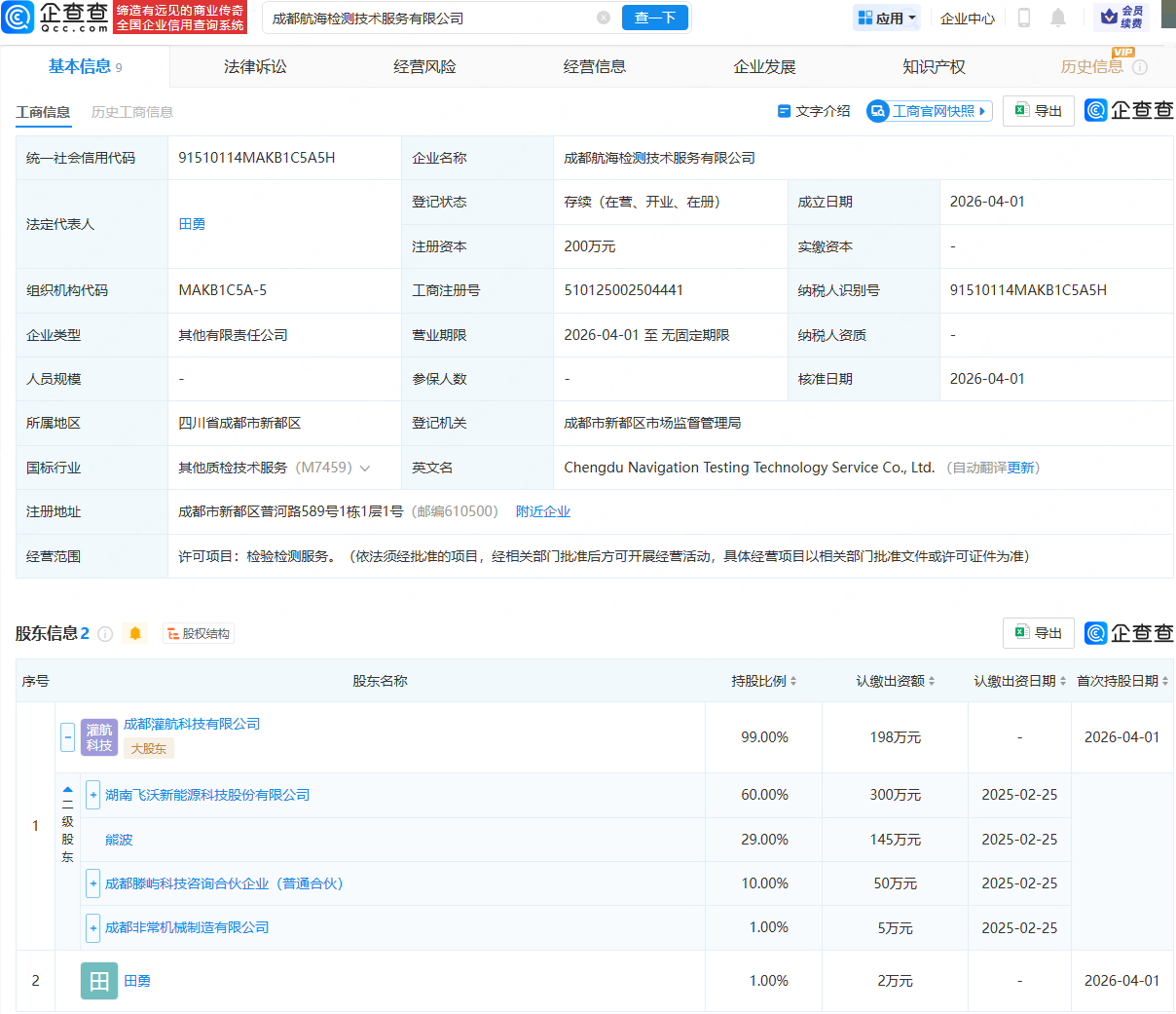
企查查APP显示,近日,成都航海检测技术服务有限公司成立,法定代表人为田勇,经营范围包含:检验检测服务。企查查股权穿透显示,该公司由飞沃科技(301232)旗下成都灌航科技有限公司等共同持股。
更多
>
同类内容
隆基绿能旗下氢能科技公司增资
04-12
追觅在枣庄投资成立智能科技公司
04-12
特变电工在云南成立电气装备公司
04-12
蓝箭航天新专利公布,可提升火箭运载效率与回收可靠性
04-12
戈碧迦成立智迦玻纤公司,注册资本1亿元
04-12
协鑫能科在重庆成立光伏发电公司
04-12
宗馥莉在上海成立新公司
04-12
蚂蚁集团入股消费级外骨骼企业极壳科技
04-12
郑州山姆商业零售登记成立
04-12
江苏省增资扩产战新产业基金成立,出资额100亿
04-12
现代IONIQ艾尼氪入华开启新篇,携双概念车首发,布局电动化未来
现代汽车旗下电动化品牌IONIQ(艾尼氪)自2016年推出第一代环保专属平台及初代IONIQ车型以来,历经十年技术发展,依托现代汽车集团E-GMP纯电平台,先进的电池技术及电驱系统等硬核技术,结合全球顶级的安…
04-11
网易智企“帝王蟹”登场:AI进企业,如何筑牢安全管控“防护网”?
4月10日下午,在杭州网易滨江园区,网易副总裁、网易智企总经理阮良在台上抛出的这句话,为当天发布的企业级AI Agent管理平台“帝王蟹(ClawHive)”定了调。这也成了“帝王蟹”切入市场的契机——它不…
04-11
春晖智控成立进出口贸易公司,含工业机器人业务
04-11
杭氧股份、昆仑信托在上海成立气体新公司
04-11
新石器无人车在横琴成立新公司,含外卖递送服务业务
04-11
点击查看更多 +
全站最新
现代IONIQ艾尼氪入华开启新篇,携双概念车首发,布局电动化未来
豆包2.27亿用户免费畅用:以免费策略筑牢数据基石 开启商业变现新征程
龙山湖畔见证越野革新!捷途XWD技术开启平权时代,双车预售同步启动
东风日产高管回应李想炮轰:恪守规则倡导良性竞争尊重同行
酒店降本“卷”出新高度 批发商夹缝求生面临行业大洗牌
小米食堂又“整活”!自研小米冰淇淋三次迭代,背后是怎样的极致追求?
热门内容
京能电力成立能源公司,含发电技术服务业务
四川产业振兴基金等新设文旅商贸股权投资引导基金,出资额39.95亿
长鑫科技退出旗下存储技术公司,国元信托等接手
华为成功注册“华为口红”商标
海正药业等成立动物营养科技公司
正大天晴等在无锡成立股权投资合伙企业
小阔集团携手华晨宇推出“重点”品牌,精准捕捉需求开启日化家居新体验
卓胜微等成立科技新公司,含集成电路芯片业务
华为畅享90系列登场!麒麟芯+鸿蒙系统覆盖,千元档也有新选择
快手2025年业绩亮眼,可灵AI成新增长极,程一笑立下年收入翻倍目标
百度旗下基金入股日冕机器人 肖中阳投身具身智能创业引关注
中兴通讯、摩尔线程等成立产业创新中心公司
大唐发电在河北涞源成立电力科技公司
一文回顾去年3・15被曝光企业
华润置地、无锡国资成立文化体育发展公司
本栏最新
现代IONIQ艾尼氪入华开启新篇,携双概念车首发,布局电动化未来
网易智企“帝王蟹”登场:AI进企业,如何筑牢安全管控“防护网”?
春晖智控成立进出口贸易公司,含工业机器人业务
杭氧股份、昆仑信托在上海成立气体新公司
新石器无人车在横琴成立新公司,含外卖递送服务业务
天合光能等成立星际能源科技公司
圆通速递密集成立多家运输公司
比亚迪注册“比亚迪闪充”商标
鹏辉能源等在黑龙江成立储能科技公司
上海机电成立慧链机电发展公司,注册资本3亿元
长飞光纤、宝胜股份成立海洋工程公司
诺德股份在常州成立光储新能源公司
华电金沙江上游水电开发公司增资50%至150亿元
五粮液新设数智营销公司,注册资本1亿
理想汽车入股具身智能公司斜跃智能
网界 - 新财经 新科技 新未来 - 网界传媒旗下网站 - 中国 · 北京
合作咨询 微信:netspread(注明:网界)
网界
®
是本公司38类注册商标,是该商标的唯一持有者,未经授本公司授权,严禁使用。
Copyright © CNU 2012-2022 www.cnu.com.cn All rights reserved.
鲁ICP备2022032383号-6
鲁公网安备37010202700502号