网界
手机网站
站内搜索
科技·商业·财经媒体
科技·商业·财经
网站首页
网络资讯
网界财经
科技人物
数据洞察
行业动态
智能出行
智能手机
数码极客
商业资讯
网界
滚动资讯
清华教授领衔的生数科技获阿里云领投20亿,从AI视频生成迈向机器人控制新赛道
04-12
红米K90 Max与一加Ace6至尊版狭路相逢,天玑9500新机价格战一触即发
04-12
智谱“龙虾”热潮下:营收激增亏损扩大,大模型赛道马拉松如何持续领跑?
04-12
AI赋能黑客松:创意与温度碰撞 00后开发者用科技解锁生活新可能
04-12
支付宝申请新专利:创新表格处理技术,实现数据精准提取与结构化呈现
04-12
科大讯飞新专利:作答批改方法升级,提升可靠性并强化过程鲁棒性
04-12
智谱“龙虾”热潮下:营收激增亏损扩大,大模型赛道马拉松如何持续领跑?
科大讯飞新专利:作答批改方法升级,提升可靠性并强化过程鲁棒性
支付宝申请新专利:通过页面设计图自动化生成多张对应页面状态图像
春晖智控成立进出口贸易公司,含工业机器人业务
杭氧股份、昆仑信托在上海成立气体新公司
新石器无人车在横琴成立新公司,含外卖递送服务业务
天合光能等成立星际能源科技公司
圆通速递密集成立多家运输公司
比亚迪注册“比亚迪闪充”商标
鹏辉能源等在黑龙江成立储能科技公司
当前位置:
网界
>
行业动态
>
正文内容
飞沃科技等成立检测技术服务公司
时间:2026-04-12 08:00
作者:企查查
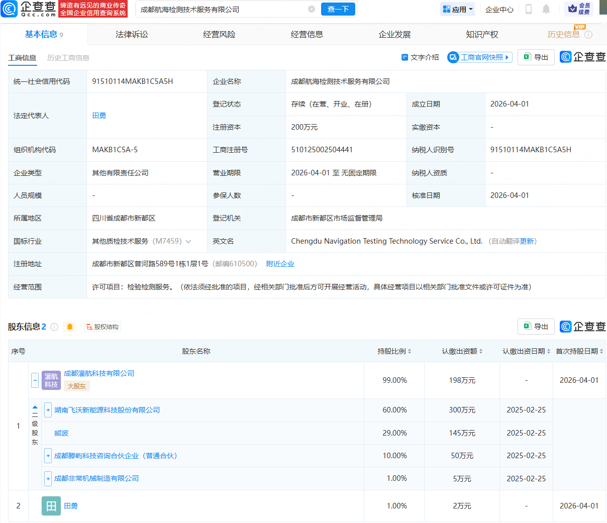
企查查APP显示,近日,成都航海检测技术服务有限公司成立,法定代表人为田勇,经营范围包含:检验检测服务。企查查股权穿透显示,该公司由飞沃科技(301232)旗下成都灌航科技有限公司等共同持股。
更多
>
同类内容
隆基绿能旗下氢能科技公司增资
04-12
追觅在枣庄投资成立智能科技公司
04-12
特变电工在云南成立电气装备公司
04-12
蓝箭航天新专利公布,可提升火箭运载效率与回收可靠性
04-12
协鑫能科在重庆成立光伏发电公司
04-12
吉利、蚂蚁集团入股幺正量子,后者为量子计算公司
04-12
郑州山姆商业零售登记成立
04-12
江苏省增资扩产战新产业基金成立,出资额100亿
04-12
机器人租赁市场愈发火爆!今年机器人租赁相关企业已注册超9000家
04-12
机器人租赁市场愈发火爆!今年机器人租赁相关企业已注册超9000家
04-12
智谱“龙虾”热潮下:营收激增亏损扩大,大模型赛道马拉松如何持续领跑?
长期以来,智谱的营收结构有着清晰的“两条腿”,一条是本地化部署业务,强调在政企市场占据主要份额,间接触达企业客户覆盖的开发团队,凭借高客单价、高毛利的特点,撑起了智谱早期的营收基本盘;另一条则是MaaS 云…
04-12
科大讯飞新专利:作答批改方法升级,提升可靠性并强化过程鲁棒性
国家知识产权局信息显示,科大讯飞股份有限公司申请一项名为“作答批改方法及相关装置、电子设备、系统、存储介质”的专利,公开号CN121838186A,申请日期为2025年12月。通过天眼查大数据分析,科大讯飞股…
04-12
支付宝申请新专利:通过页面设计图自动化生成多张对应页面状态图像
国家知识产权局信息显示,支付宝(杭州)数字服务技术有限公司申请一项名为“页面状态图像的生成方法、及生成设备”的专利,公开号CN121832939A,申请日期为2026年1月。通过天眼查大数据分析,支付宝(杭州…
04-12
春晖智控成立进出口贸易公司,含工业机器人业务
04-12
杭氧股份、昆仑信托在上海成立气体新公司
04-12
点击查看更多 +
全站最新
智谱“龙虾”热潮下:营收激增亏损扩大,大模型赛道马拉松如何持续领跑?
AI赋能黑客松:创意与温度碰撞 00后开发者用科技解锁生活新可能
阿里AI新布局:3800亿加码云与AI,HappyHorse模型搅动视频生成赛道
春晖智控成立进出口贸易公司,含工业机器人业务
杭氧股份、昆仑信托在上海成立气体新公司
新石器无人车在横琴成立新公司,含外卖递送服务业务
热门内容
京能电力成立能源公司,含发电技术服务业务
四川产业振兴基金等新设文旅商贸股权投资引导基金,出资额39.95亿
长鑫科技退出旗下存储技术公司,国元信托等接手
华为成功注册“华为口红”商标
海正药业等成立动物营养科技公司
正大天晴等在无锡成立股权投资合伙企业
小阔集团携手华晨宇推出“重点”品牌,精准捕捉需求开启日化家居新体验
卓胜微等成立科技新公司,含集成电路芯片业务
华为畅享90系列登场!麒麟芯+鸿蒙系统覆盖,千元档也有新选择
快手2025年业绩亮眼,可灵AI成新增长极,程一笑立下年收入翻倍目标
百度旗下基金入股日冕机器人 肖中阳投身具身智能创业引关注
中兴通讯、摩尔线程等成立产业创新中心公司
大唐发电在河北涞源成立电力科技公司
一文回顾去年3・15被曝光企业
华润置地、无锡国资成立文化体育发展公司
本栏最新
智谱“龙虾”热潮下:营收激增亏损扩大,大模型赛道马拉松如何持续领跑?
科大讯飞新专利:作答批改方法升级,提升可靠性并强化过程鲁棒性
支付宝申请新专利:通过页面设计图自动化生成多张对应页面状态图像
春晖智控成立进出口贸易公司,含工业机器人业务
杭氧股份、昆仑信托在上海成立气体新公司
新石器无人车在横琴成立新公司,含外卖递送服务业务
天合光能等成立星际能源科技公司
圆通速递密集成立多家运输公司
比亚迪注册“比亚迪闪充”商标
鹏辉能源等在黑龙江成立储能科技公司
上海机电成立慧链机电发展公司,注册资本3亿元
长飞光纤、宝胜股份成立海洋工程公司
诺德股份在常州成立光储新能源公司
华电金沙江上游水电开发公司增资50%至150亿元
五粮液新设数智营销公司,注册资本1亿
网界 - 新财经 新科技 新未来 - 网界传媒旗下网站 - 中国 · 北京
合作咨询 微信:netspread(注明:网界)
网界
®
是本公司38类注册商标,是该商标的唯一持有者,未经授本公司授权,严禁使用。
Copyright © CNU 2012-2022 www.cnu.com.cn All rights reserved.
鲁ICP备2022032383号-6
鲁公网安备37010202700502号