网界
手机网站
站内搜索
科技·商业·财经媒体
科技·商业·财经
网站首页
网络资讯
网界财经
科技人物
数据洞察
行业动态
智能出行
智能手机
数码极客
商业资讯
网界
滚动资讯
小菜园2025年报:门店扩张员工增,成本降管理层薪酬却大幅上涨
04-12
MiniMax开源M2.7模型:AI实现自我进化,复杂任务处理与交互体验双升级
04-12
元戎启行迎新力量:前DeepSeek多模态核心阮翀加盟,助力基座模型新突破
04-12
王石微博回应被抓传闻:一切如常,造谣者必将受法律严惩
04-12
2026年AI引领服饰消费变革:从品牌驱动到技术赋能的新跨越
04-12
马斯克旗下XChat 4月17日上线苹果商店 主打私密通信或成“西方微信”新势力
04-12
小红书首届黑客松巅峰赛收官:00后成主力军,12岁少年与初中生团队闪耀赛场
雷军分享马吉拉大秀现场:白色涂装小米YU7接驳车亮相引关注
春晖智控成立进出口贸易公司,含工业机器人业务
杭氧股份、昆仑信托在上海成立气体新公司
新石器无人车在横琴成立新公司,含外卖递送服务业务
天合光能等成立星际能源科技公司
圆通速递密集成立多家运输公司
比亚迪注册“比亚迪闪充”商标
鹏辉能源等在黑龙江成立储能科技公司
上海机电成立慧链机电发展公司,注册资本3亿元
当前位置:
网界
>
行业动态
>
正文内容
飞沃科技等成立检测技术服务公司
时间:2026-04-13 00:34
作者:企查查
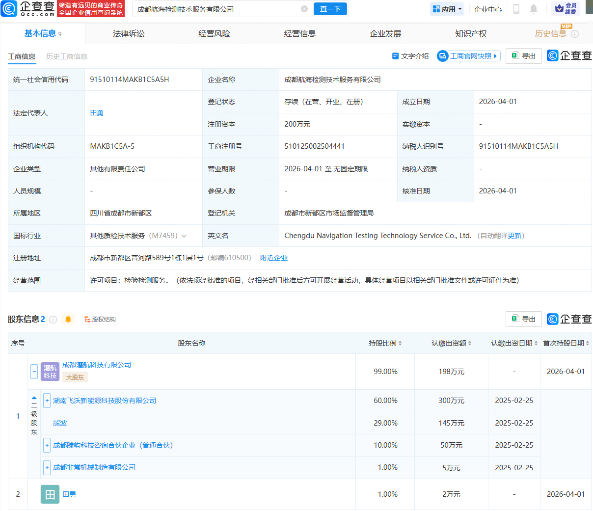
企查查APP显示,近日,成都航海检测技术服务有限公司成立,法定代表人为田勇,经营范围包含:检验检测服务。企查查股权穿透显示,该公司由飞沃科技(301232)旗下成都灌航科技有限公司等共同持股。
更多
>
同类内容
隆基绿能旗下氢能科技公司增资
04-13
追觅在枣庄投资成立智能科技公司
04-13
特变电工在云南成立电气装备公司
04-13
蓝箭航天新专利公布,可提升火箭运载效率与回收可靠性
04-13
戈碧迦成立智迦玻纤公司,注册资本1亿元
04-13
协鑫能科在重庆成立光伏发电公司
04-13
吉利、蚂蚁集团入股幺正量子,后者为量子计算公司
04-13
宗馥莉在上海成立新公司
04-13
蚂蚁集团入股消费级外骨骼企业极壳科技
04-13
郑州山姆商业零售登记成立
04-13
江苏省增资扩产战新产业基金成立,出资额100亿
04-13
储能行业迎来发展黄金期!今年已注册2.8万家储能相关企业
04-13
小红书首届黑客松巅峰赛收官:00后成主力军,12岁少年与初中生团队闪耀赛场
其中“脑控轮椅”获硬件赛道一等奖,AI发型设计产品“Chic Chic”获软件赛道一等奖,口袋吉他智能硬件PocketGuitar摘得全场大奖。 而获得“AI原住民”特别单元奖的团队Page One则由4…
04-12
雷军分享马吉拉大秀现场:白色涂装小米YU7接驳车亮相引关注
04-12
春晖智控成立进出口贸易公司,含工业机器人业务
04-12
点击查看更多 +
全站最新
储能行业迎来发展黄金期!今年已注册2.8万家储能相关企业
王石微博回应被抓传闻:一切如常,造谣者必将受法律严惩
2026年AI引领服饰消费变革:从品牌驱动到技术赋能的新跨越
WOTOHub白皮书4.0:解码海外网红营销,洞察行业趋势与实战策略
MiniMax:资本狂热下的AI新星,能否将“想象力”兑现为真实利润?
春晖智控成立进出口贸易公司,含工业机器人业务
热门内容
京能电力成立能源公司,含发电技术服务业务
四川产业振兴基金等新设文旅商贸股权投资引导基金,出资额39.95亿
长鑫科技退出旗下存储技术公司,国元信托等接手
华为成功注册“华为口红”商标
海正药业等成立动物营养科技公司
正大天晴等在无锡成立股权投资合伙企业
小阔集团携手华晨宇推出“重点”品牌,精准捕捉需求开启日化家居新体验
卓胜微等成立科技新公司,含集成电路芯片业务
华为畅享90系列登场!麒麟芯+鸿蒙系统覆盖,千元档也有新选择
快手2025年业绩亮眼,可灵AI成新增长极,程一笑立下年收入翻倍目标
百度旗下基金入股日冕机器人 肖中阳投身具身智能创业引关注
中兴通讯、摩尔线程等成立产业创新中心公司
大唐发电在河北涞源成立电力科技公司
华润置地、无锡国资成立文化体育发展公司
政府工作报告首提“打造智能经济新形态”!我国现存480万相关企业
本栏最新
储能行业迎来发展黄金期!今年已注册2.8万家储能相关企业
小红书首届黑客松巅峰赛收官:00后成主力军,12岁少年与初中生团队闪耀赛场
雷军分享马吉拉大秀现场:白色涂装小米YU7接驳车亮相引关注
春晖智控成立进出口贸易公司,含工业机器人业务
杭氧股份、昆仑信托在上海成立气体新公司
新石器无人车在横琴成立新公司,含外卖递送服务业务
天合光能等成立星际能源科技公司
圆通速递密集成立多家运输公司
比亚迪注册“比亚迪闪充”商标
鹏辉能源等在黑龙江成立储能科技公司
上海机电成立慧链机电发展公司,注册资本3亿元
长飞光纤、宝胜股份成立海洋工程公司
诺德股份在常州成立光储新能源公司
华电金沙江上游水电开发公司增资50%至150亿元
五粮液新设数智营销公司,注册资本1亿
网界 - 新财经 新科技 新未来 - 网界传媒旗下网站 - 中国 · 北京
合作咨询 微信:netspread(注明:网界)
网界
®
是本公司38类注册商标,是该商标的唯一持有者,未经授本公司授权,严禁使用。
Copyright © CNU 2012-2022 www.cnu.com.cn All rights reserved.
鲁ICP备2022032383号-6
鲁公网安备37010202700502号