网界
手机网站
站内搜索
科技·商业·财经媒体
科技·商业·财经
网站首页
网络资讯
网界财经
科技人物
数据洞察
行业动态
智能出行
智能手机
数码极客
商业资讯
网界
滚动资讯
宝钢股份在南京投资成立碳业科技公司
03-16
天利科技等在上海成立算力科技新公司
03-16
冠龙节能成立智水科技公司,含AI及机器人业务
03-16
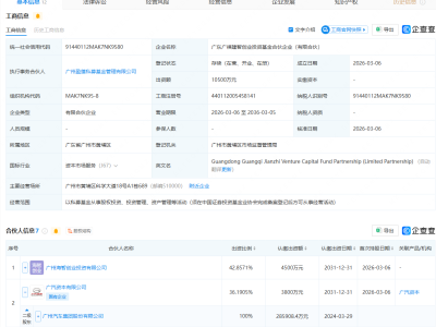
广汽集团等成立创投基金
03-16
塞力医疗等成立医学检验实验室公司
03-16
比亚迪注册多枚“比亚迪天算”商标
03-16
宝钢股份在南京投资成立碳业科技公司
天利科技等在上海成立算力科技新公司
冠龙节能成立智水科技公司,含AI及机器人业务
广汽集团等成立创投基金
塞力医疗等成立医学检验实验室公司
比亚迪注册多枚“比亚迪天算”商标
赣锋锂业等在内蒙古成立数智能源科技公司
森特股份在重庆成立新能源公司,含储能技术服务业务
富临精工等在广西成立新材料公司,注册资本3亿元
智元机器人、喜临门入股王腾新公司
当前位置:
网界
>
行业动态
宝钢股份在南京投资成立碳业科技公司
天利科技等在上海成立算力科技新公司
冠龙节能成立智水科技公司,含AI及机器人业务
广汽集团等成立创投基金
比亚迪注册多枚“比亚迪天算”商标
《惑星行者》发布在即,Bungie团队调整不断,850人团队稳健前行
2024-12-25
小米2026年将推第三款电动车,中大型增程SUV风格大变样!
2024-12-25
一加Ace 5系列明日发布:骁龙8至尊版,游戏性能与性价比能否双赢?
2024-12-25
现代汽车解散半导体战略室,自研无人驾驶芯片计划受阻?
2024-12-25
《巫师4》动捕花絮曝光,特技演员“真刀真枪”演绎希里与黯鬼!
2024-12-25
小米15 Ultra二月发布,影像大升级,2亿像素潜望长焦来袭!
2024-12-25
AOC新推AG276QSD显示器:2K分辨率搭配360Hz刷新率,性能如何?
2024-12-25
智己汽车B轮融资94亿,2025年新车规划曝光:纯电增程双管齐下
2024-12-25
小米米家智能健腹轮上线,179元享专业教练指导,承重高达150Kg!
2024-12-25
国产自动驾驶芯片新突破!北极雄芯启明935A系列Chiplet方案成功
2024-12-25
三只松鼠注资500万,新成立围裙阿姨食品公司进军预制菜领域
2024-12-25
欧盟或放行Synopsys 350亿美元并购Ansys,但需满足条件
2024-12-25
AOC新推26.5英寸AG276QSD显示器:2K分辨率搭配360Hz QD-OLED面板
2024-12-25
11月手机销量TOP10揭晓,苹果16领跑
近期,国内手机市场的销售数据再次成为公众热议的焦点。一份由知名博主分享的11月份国内手机销量排行榜TOP 10揭示了消费者的购买偏好,榜单上的机型不仅涵盖了多个知名品牌,更显示出市场对高端机型的强劲需求。在这份榜单中,苹果公司的iPhone系列表现尤为抢眼。iPhone
2024-12-25
微软Outlook将于2025年初全面支持PST文件管理
2024-12-25
国产阅读器崛起!2024年前11个月销量已超44万台,市场高速增长
2024-12-25
2024游戏版号年终盘点:哪些大作成功上岸?
2024-12-25
《拳皇13 GM》Steam版定档2025年2月,老版玩家享专属优惠
2024-12-25
2024高难游戏TOP 10,老鸟挑战,你准备好了吗?
2024-12-25
《怪物猎人》麒麟套猎人娘COSPLAY,小姐姐腹肌与气质并存!
2024-12-25
第
2017
页/共
2209
页
首页
下一页
上一页
尾页
全站最新
宝钢股份在南京投资成立碳业科技公司
天利科技等在上海成立算力科技新公司
冠龙节能成立智水科技公司,含AI及机器人业
广汽集团等成立创投基金
推荐资讯
魅族StarV AR系统团队“转战”雷鸟创新
易至汽车EV3 PLUS:科技赋能空间与智能,开启春节家庭出行新体验
周鸿祎:2026将迎百亿智能体时代 360“短剧智能体”赋能影视创作新可能
先导智能2025年净利预增超424%!
iPhone 18 Pro系列新爆料:前置摄像头与灵动岛或双双移至屏幕左上角
马斯克放话特斯拉AI芯片9个月一迭代
高通三款产品斩获CES 2026创新奖
雷军直播直面争议:澄清“7000法务”等谣言
苹果持续扩张!今年在硅谷多次购入办公楼
新迈腾B9:智慧配置升级通勤体验,多重福利助力轻松购车
点击排行
15
1
iPhone 17 Pro Max上市数月成以旧换新热门 保值率高或受经济环境影响
13
2
阿里开源千问Qwen3.5-Plus:性能比肩Gemini 3 Pro,推理效率与多模态能力双突破
8
3
肖特加码苏州6000万投资,以AR光学技术助力中国智能眼镜产业腾飞
7
4
睡眠耳机怎么选?五款实测高分睡眠耳机深度测评与选购指南
6
5
大件托运省钱全攻略:从计费规则到比价技巧,新手也能轻松省运费!
6
6
百度梯子AI上线半年即落幕:无广告海量资源成过往,服务迁移至文心App
6
7
创想三维二次递表港交所:全球消费级3D打印市场领先,近年利润波动引关注
5
8
利欧股份成立数智文化科技公司,含多项AI业务
网界 - 新财经 新科技 新未来 - 网界传媒旗下网站 - 中国 · 北京
合作咨询 微信:netspread(注明:网界)
网界
®
是本公司38类注册商标,是该商标的唯一持有者,未经授本公司授权,严禁使用。
Copyright © CNU 2012-2022 www.cnu.com.cn All rights reserved.
鲁ICP备2022032383号-6
鲁公网安备37010202700502号