网界
手机网站
站内搜索
科技·商业·财经媒体
科技·商业·财经
网站首页
网络资讯
网界财经
科技人物
数据洞察
行业动态
智能出行
智能手机
数码极客
商业资讯
网界
滚动资讯
学生平板怎么选?科大讯飞T30lite与T30pro等主流平板,哪款才是学习好帮手?
03-15
我国超高强度碳纤维全球首发,碳纤维相关企业存量十年涨超500%
03-15
深蓝航天申请的可回收航天飞行器相关专利获授权
03-15
长盈通成立海洋技术公司,含光纤制造业务
03-15
欣旺达等成立智联储能技术公司
03-15
吉利旗下吉行科技增资至 6.3 亿,增幅 322%
03-15
我国超高强度碳纤维全球首发,碳纤维相关企业存量十年涨超500%
深蓝航天申请的可回收航天飞行器相关专利获授权
长盈通成立海洋技术公司,含光纤制造业务
欣旺达等成立智联储能技术公司
吉利旗下吉行科技增资至 6.3 亿,增幅 322%
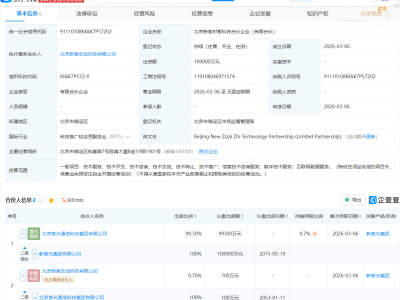
新紫光集团成立科技合伙企业,出资额10亿元
一文回顾去年3・15被曝光企业
国家军民融合产投基金、国调基金二期入股国睿科技旗下软件公司
中恒电气、沪光股份联合永吉股份等新设创投合伙企业
江阴市国联锡洲人工智能产业股权基金登记成立
当前位置:
网界
>
行业动态
我国超高强度碳纤维全球首发,碳纤维相关企业存量十年涨超500%
长盈通成立海洋技术公司,含光纤制造业务
深蓝航天申请的可回收航天飞行器相关专利获授权
欣旺达等成立智联储能技术公司
新紫光集团成立科技合伙企业,出资额10亿元
铁路12306新推:务工人员春运预约购票,保障出行更便捷!
2024-12-15
布加迪联手Fahrengold,打造顶级超跑专属奢华“博物馆级”车库!
2024-12-15
realme 14x 5G新机爆料:联发科天玑6300加持,电池容量升至6000毫安时
2024-12-15
极氪冬日暖心行动:免费咖啡、上门试驾与全方位车辆呵护
2024-12-15
日本獭祭酒厂将太空酿酒,成功后百万售价全捐太空开发
2024-12-14
日本“太空一号”小型火箭发射遇强风,延期至次日进行
2024-12-14
帕米尔高原乌恰风电场全容量并网,新疆南部风电史新篇章!
2024-12-14
《宇宙机器人》夺TGA年度最佳,玩家质疑:任天堂被冷落?
2024-12-14
高通骁龙X Elite 2进军台式机市场,标配水冷散热器性能可期?
2024-12-14
魅族20系列Flyme稳定版更新:Aicy新增视频连麦等功能
2024-12-14
铭瑄Intel Arc B580 iCraft 12G显卡美图来袭,白昼炫光镀层尽显精致
2024-12-14
吉利星舰7 EM-i上市火爆,7天交付破6500,节能高效成亮点!
2024-12-14
余承东抖音首秀,粉丝百万起步!你站队余总还是雷军?
2024-12-14
《鸣潮》虽未夺TGA 2024最佳移动游戏奖,仍豪赠玩家800星声!
2024-12-14
微软停用“Microsoft自动填充”,用户密码同步何去何从?
2024-12-14
真我Neo7首销在即:天玑9300+加持,长续航高性能手机新选择
2024-12-14
《绝区零》TGA双提名答谢玩家,800菲林大放送!
2024-12-14
B站跨年晚会亮点:《黑神话:悟空》定制演出,共赴西游梦幻之旅!
2024-12-14
2025款广汽埃安AION Y Plus纯电SUV来袭,12.18万起售续航510公里
2024-12-14
华纳游戏蒙特利尔工作室突发裁员,近百名员工命运待定
2024-12-14
第
2034
页/共
2201
页
首页
下一页
上一页
尾页
全站最新
我国超高强度碳纤维全球首发,碳纤维相关企
深蓝航天申请的可回收航天飞行器相关专利获
长盈通成立海洋技术公司,含光纤制造业务
欣旺达等成立智联储能技术公司
推荐资讯
魅族StarV AR系统团队“转战”雷鸟创新
易至汽车EV3 PLUS:科技赋能空间与智能,开启春节家庭出行新体验
周鸿祎:2026将迎百亿智能体时代 360“短剧智能体”赋能影视创作新可能
先导智能2025年净利预增超424%!
iPhone 18 Pro系列新爆料:前置摄像头与灵动岛或双双移至屏幕左上角
马斯克放话特斯拉AI芯片9个月一迭代
高通三款产品斩获CES 2026创新奖
雷军直播直面争议:澄清“7000法务”等谣言
苹果持续扩张!今年在硅谷多次购入办公楼
新迈腾B9:智慧配置升级通勤体验,多重福利助力轻松购车
点击排行
15
1
iPhone 17 Pro Max上市数月成以旧换新热门 保值率高或受经济环境影响
13
2
阿里开源千问Qwen3.5-Plus:性能比肩Gemini 3 Pro,推理效率与多模态能力双突破
8
3
肖特加码苏州6000万投资,以AR光学技术助力中国智能眼镜产业腾飞
7
4
睡眠耳机怎么选?五款实测高分睡眠耳机深度测评与选购指南
6
5
大件托运省钱全攻略:从计费规则到比价技巧,新手也能轻松省运费!
6
6
百度梯子AI上线半年即落幕:无广告海量资源成过往,服务迁移至文心App
6
7
创想三维二次递表港交所:全球消费级3D打印市场领先,近年利润波动引关注
5
8
天仪空间在山东泰安成立数字科技公司
网界 - 新财经 新科技 新未来 - 网界传媒旗下网站 - 中国 · 北京
合作咨询 微信:netspread(注明:网界)
网界
®
是本公司38类注册商标,是该商标的唯一持有者,未经授本公司授权,严禁使用。
Copyright © CNU 2012-2022 www.cnu.com.cn All rights reserved.
鲁ICP备2022032383号-6
鲁公网安备37010202700502号