科技·商业·财经

江苏镇江高端智能制造产业专项母基金成立,出资额10亿

   时间:2025-12-05 00:27 作者:企查查

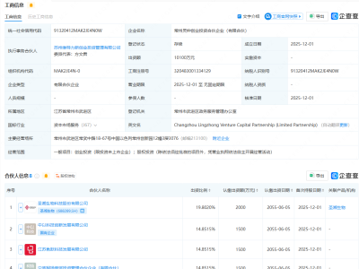
企查查APP显示,近日,江苏镇江高端智能制造产业专项母基金(有限合伙)成立,出资额10亿元,经营范围包含:股权投资;创业投资(限投资未上市企业);以自有资金从事投资活动。企查查股权穿透显示,该企业由江苏省战略性新兴产业母基金有限公司等共同出资。

 
 
更多>同类内容
全站最新
热门内容