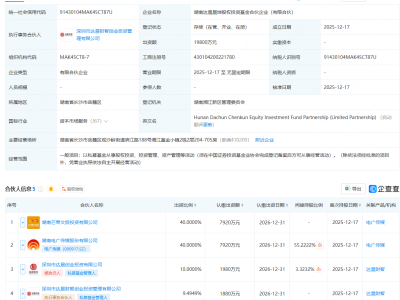
企查查APP显示,近日,福建(厦门)社保科创股权投资基金合伙企业(有限合伙)成立,出资额200亿元,经营范围包含:以私募基金从事股权投资、投资管理、资产管理等活动。企查查股权穿透显示,该合伙企业由全国社会保障基金理事会、厦门产投新兴科创合伙企业(有限合伙)等共同持股。


企查查APP显示,近日,福建(厦门)社保科创股权投资基金合伙企业(有限合伙)成立,出资额200亿元,经营范围包含:以私募基金从事股权投资、投资管理、资产管理等活动。企查查股权穿透显示,该合伙企业由全国社会保障基金理事会、厦门产投新兴科创合伙企业(有限合伙)等共同持股。

