科技·商业·财经

曙光股份成立国际控股公司,含新能源汽车相关业务

   时间:2025-12-25 16:12 作者:企查查

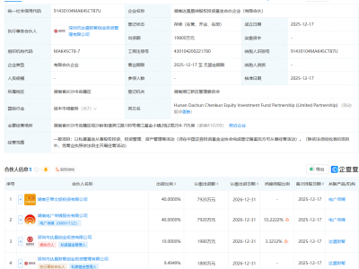
企查查APP显示,近日,海光金石(北京)国际控股有限公司成立,经营范围包含:新能源汽车电附件销售;新能源汽车换电设施销售;新能源汽车生产测试设备销售;汽车零配件零售等。企查查股权穿透显示,该公司由曙光股份(600303)全资持股。

 
 
更多>同类内容
全站最新
热门内容