网界
手机网站
站内搜索
科技·商业·财经媒体
科技·商业·财经
网站首页
网络资讯
网界财经
科技人物
数据洞察
行业动态
智能出行
智能手机
数码极客
商业资讯
网界
滚动资讯
自然堂冲刺港股IPO:老国货如何在新周期突破“中年危机”续写增长?
04-10
张雪机车夺冠、比亚迪登顶泰国车展:中国制造业正以硬实力改写全球格局
04-10
赛力斯:在华为合作、股东期待与自主发展间寻平衡之路
04-10
《洛克王国》手游化热潮:情怀与创新并存,能否打破“短命”魔咒?
04-10
XREAL冲刺IPO与Rokid融资扩产,智能眼镜赛道谁能率先突围?
04-10
红帽中国研发团队遭整体裁撤 419人受影响 本土操作系统厂商崛起成新景
04-10
金融监管总局核准!KIM YOUNG JUN(金暎埈)获任韩亚银行(中国)董事及董事长
茅台市场化改革显成效:陈华破解控价与“削藩”难题,引领行业新方向
阿里AI视频大模型HappyHorse登顶全球榜首 预计一周后正式开源发布
A股2026年退市格局生变:市值退市领衔,多元化退市体系加速成型
华是科技等成立巨好玩时代信息技术公司,含AI业务
宇树科技、宁波能源等成立智能应急机器人研究院公司
真兰仪表等成立智电科技公司,含AI及集成电路芯片业务
春晖智控成立进出口贸易公司,含工业机器人业务
杭氧股份、昆仑信托在上海成立气体新公司
新石器无人车在横琴成立新公司,含外卖递送服务业务
当前位置:
网界
>
行业动态
>
正文内容
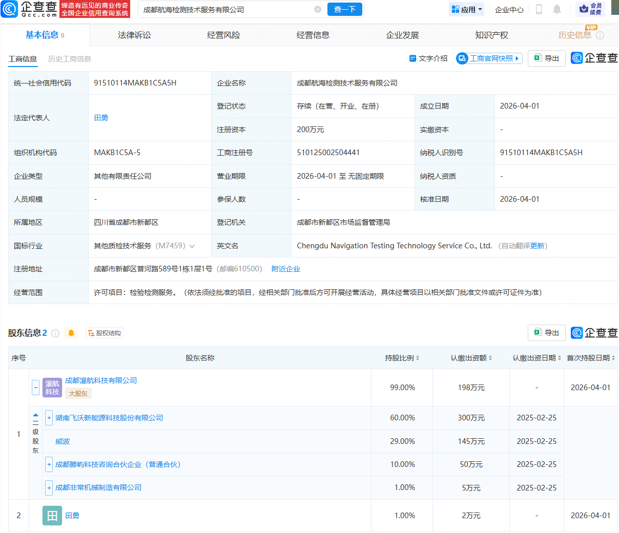
飞沃科技等成立检测技术服务公司
时间:2026-04-11 00:48
作者:企查查
企查查APP显示,近日,成都航海检测技术服务有限公司成立,法定代表人为田勇,经营范围包含:检验检测服务。企查查股权穿透显示,该公司由飞沃科技(301232)旗下成都灌航科技有限公司等共同持股。
更多
>
同类内容
隆基绿能旗下氢能科技公司增资
04-11
追觅在枣庄投资成立智能科技公司
04-11
特变电工在云南成立电气装备公司
04-11
蓝箭航天新专利公布,可提升火箭运载效率与回收可靠性
04-11
戈碧迦成立智迦玻纤公司,注册资本1亿元
04-11
吉利、蚂蚁集团入股幺正量子,后者为量子计算公司
04-11
宗馥莉在上海成立新公司
04-11
蚂蚁集团入股消费级外骨骼企业极壳科技
04-11
郑州山姆商业零售登记成立
04-11
江苏省增资扩产战新产业基金成立,出资额100亿
04-11
金融监管总局核准!KIM YOUNG JUN(金暎埈)获任韩亚银行(中国)董事及董事长
04-10
茅台市场化改革显成效:陈华破解控价与“削藩”难题,引领行业新方向
04-10
阿里AI视频大模型HappyHorse登顶全球榜首 预计一周后正式开源发布
观点网讯:4月10日消息,阿里巴巴AI视频大模型HappyHorse已内部上架阿里百炼平台,预计一周后对外发布。4月8日,HappyHorse1.0作为黑马以1333Elo分登顶Artificial Ana…
04-10
A股2026年退市格局生变:市值退市领衔,多元化退市体系加速成型
“从重大违法退市的‘零容忍’,到市值退市成为交易类退市主流,再到主动退市的常态化,A股正形成强制退市与主动退市协同、行政监管与市场选择结合的多元化退市体系,‘壳资源’炒作空间被进一步压缩,资金持续向优质企业…
04-10
华是科技等成立巨好玩时代信息技术公司,含AI业务
04-10
点击查看更多 +
全站最新
江苏省增资扩产战新产业基金成立,出资额100亿
红帽中国研发团队遭整体裁撤 419人受影响 本土操作系统厂商崛起成新景
李雪琴携手汉王科技,Clear7锦鲤升级来袭,开启数字阅读新体验
张雪峰.skill项目引热议:思维“蒸馏”是创新还是消费逝者?
阿里ATH创新事业部HappyHorse模型引关注,多赛道登顶即将开放API
SBTI“发疯式”测试爆火:荒诞背后的情绪狂欢,年轻人找到新出口?
热门内容
京能电力成立能源公司,含发电技术服务业务
四川产业振兴基金等新设文旅商贸股权投资引导基金,出资额39.95亿
长鑫科技退出旗下存储技术公司,国元信托等接手
华为成功注册“华为口红”商标
海正药业等成立动物营养科技公司
正大天晴等在无锡成立股权投资合伙企业
小阔集团携手华晨宇推出“重点”品牌,精准捕捉需求开启日化家居新体验
卓胜微等成立科技新公司,含集成电路芯片业务
华为畅享90系列登场!麒麟芯+鸿蒙系统覆盖,千元档也有新选择
快手2025年业绩亮眼,可灵AI成新增长极,程一笑立下年收入翻倍目标
百度旗下基金入股日冕机器人 肖中阳投身具身智能创业引关注
中兴通讯、摩尔线程等成立产业创新中心公司
大唐发电在河北涞源成立电力科技公司
产能全开备货忙,试驾好评不断,雷军如何让小米SU7交付“加速跑”?
一文回顾去年3・15被曝光企业
本栏最新
江苏省增资扩产战新产业基金成立,出资额100亿
金融监管总局核准!KIM YOUNG JUN(金暎埈)获任韩亚银行(中国)董事及董事长
茅台市场化改革显成效:陈华破解控价与“削藩”难题,引领行业新方向
阿里AI视频大模型HappyHorse登顶全球榜首 预计一周后正式开源发布
A股2026年退市格局生变:市值退市领衔,多元化退市体系加速成型
华是科技等成立巨好玩时代信息技术公司,含AI业务
宇树科技、宁波能源等成立智能应急机器人研究院公司
真兰仪表等成立智电科技公司,含AI及集成电路芯片业务
春晖智控成立进出口贸易公司,含工业机器人业务
杭氧股份、昆仑信托在上海成立气体新公司
新石器无人车在横琴成立新公司,含外卖递送服务业务
天合光能等成立星际能源科技公司
圆通速递密集成立多家运输公司
比亚迪注册“比亚迪闪充”商标
鹏辉能源等在黑龙江成立储能科技公司
网界 - 新财经 新科技 新未来 - 网界传媒旗下网站 - 中国 · 北京
合作咨询 微信:netspread(注明:网界)
网界
®
是本公司38类注册商标,是该商标的唯一持有者,未经授本公司授权,严禁使用。
Copyright © CNU 2012-2022 www.cnu.com.cn All rights reserved.
鲁ICP备2022032383号-6
鲁公网安备37010202700502号