网界
手机网站
站内搜索
科技·商业·财经媒体
科技·商业·财经
网站首页
网络资讯
网界财经
科技人物
数据洞察
行业动态
智能出行
智能手机
数码极客
商业资讯
网界
滚动资讯
2026年科大讯飞学习机怎么选?六款口碑佳作满足孩子多元学习需求
04-13
OPPO Find X9系列新机4月21日发布,X9 Ultra三款配色及影像配置抢先看
04-13
以用户为核心,IONIQ艾尼氪入华能否在中国新能源市场闯出一片天?
04-13
现代汽车IONIQ艾尼氪入华,携双概念车首发开启电动化新征程
04-13
2026恩施旅游优选启程国旅!18年纯玩积淀,透明服务助您畅享山水与民俗
04-13
服务业崛起时代:实体企业借“场景情绪体验”三要素激活增长新动能
04-13
中国移动20亿算力大单落地 指定华为CANN生态引领国产算力新征程
春晖智控成立进出口贸易公司,含工业机器人业务
杭氧股份、昆仑信托在上海成立气体新公司
新石器无人车在横琴成立新公司,含外卖递送服务业务
天合光能等成立星际能源科技公司
圆通速递密集成立多家运输公司
比亚迪注册“比亚迪闪充”商标
鹏辉能源等在黑龙江成立储能科技公司
上海机电成立慧链机电发展公司,注册资本3亿元
长飞光纤、宝胜股份成立海洋工程公司
当前位置:
网界
>
行业动态
>
正文内容
飞沃科技等成立检测技术服务公司
时间:2026-04-13 08:00
作者:企查查
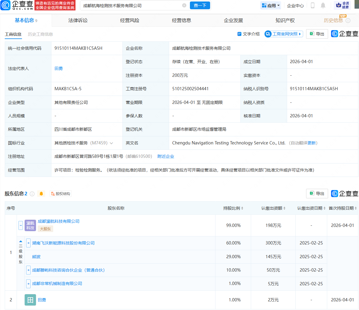
企查查APP显示,近日,成都航海检测技术服务有限公司成立,法定代表人为田勇,经营范围包含:检验检测服务。企查查股权穿透显示,该公司由飞沃科技(301232)旗下成都灌航科技有限公司等共同持股。
更多
>
同类内容
隆基绿能旗下氢能科技公司增资
04-13
追觅在枣庄投资成立智能科技公司
04-13
蓝箭航天新专利公布,可提升火箭运载效率与回收可靠性
04-13
戈碧迦成立智迦玻纤公司,注册资本1亿元
04-13
协鑫能科在重庆成立光伏发电公司
04-13
吉利、蚂蚁集团入股幺正量子,后者为量子计算公司
04-13
宗馥莉在上海成立新公司
04-13
蚂蚁集团入股消费级外骨骼企业极壳科技
04-13
江苏省增资扩产战新产业基金成立,出资额100亿
04-13
储能行业迎来发展黄金期!今年已注册2.8万家储能相关企业
04-13
光互连成为提升AI算力上限重要演进方向!光通信相关企业超51万家
04-13
中国移动20亿算力大单落地 指定华为CANN生态引领国产算力新征程
4月12日,观察者网在中国移动采购与招标网看到,中国移动2026-2027年人工智能超节点设备集中采购项目已于4月8日开标,明确指定华为CANN生态,并进行了中标候选人公示。 根据中国移动上个月发布的招标…
04-13
春晖智控成立进出口贸易公司,含工业机器人业务
04-13
杭氧股份、昆仑信托在上海成立气体新公司
04-13
新石器无人车在横琴成立新公司,含外卖递送服务业务
04-13
点击查看更多 +
全站最新
以用户为核心,IONIQ艾尼氪入华能否在中国新能源市场闯出一片天?
现代汽车IONIQ艾尼氪入华,携双概念车首发开启电动化新征程
2026恩施旅游优选启程国旅!18年纯玩积淀,透明服务助您畅享山水与民俗
服务业崛起时代:实体企业借“场景情绪体验”三要素激活增长新动能
AI优化文档格式易,但人类判断力才是文档价值核心所在
科大讯飞一员工喜获1500万大奖后辞职 网友热议:大奖面前该如何抉择?
热门内容
京能电力成立能源公司,含发电技术服务业务
四川产业振兴基金等新设文旅商贸股权投资引导基金,出资额39.95亿
长鑫科技退出旗下存储技术公司,国元信托等接手
华为成功注册“华为口红”商标
海正药业等成立动物营养科技公司
正大天晴等在无锡成立股权投资合伙企业
小阔集团携手华晨宇推出“重点”品牌,精准捕捉需求开启日化家居新体验
卓胜微等成立科技新公司,含集成电路芯片业务
华为畅享90系列登场!麒麟芯+鸿蒙系统覆盖,千元档也有新选择
快手2025年业绩亮眼,可灵AI成新增长极,程一笑立下年收入翻倍目标
百度旗下基金入股日冕机器人 肖中阳投身具身智能创业引关注
中兴通讯、摩尔线程等成立产业创新中心公司
大唐发电在河北涞源成立电力科技公司
华润置地、无锡国资成立文化体育发展公司
政府工作报告首提“打造智能经济新形态”!我国现存480万相关企业
本栏最新
光互连成为提升AI算力上限重要演进方向!光通信相关企业超51万家
中国移动20亿算力大单落地 指定华为CANN生态引领国产算力新征程
春晖智控成立进出口贸易公司,含工业机器人业务
杭氧股份、昆仑信托在上海成立气体新公司
新石器无人车在横琴成立新公司,含外卖递送服务业务
天合光能等成立星际能源科技公司
圆通速递密集成立多家运输公司
比亚迪注册“比亚迪闪充”商标
鹏辉能源等在黑龙江成立储能科技公司
上海机电成立慧链机电发展公司,注册资本3亿元
长飞光纤、宝胜股份成立海洋工程公司
诺德股份在常州成立光储新能源公司
华电金沙江上游水电开发公司增资50%至150亿元
五粮液新设数智营销公司,注册资本1亿
理想汽车入股具身智能公司斜跃智能
网界 - 新财经 新科技 新未来 - 网界传媒旗下网站 - 中国 · 北京
合作咨询 微信:netspread(注明:网界)
网界
®
是本公司38类注册商标,是该商标的唯一持有者,未经授本公司授权,严禁使用。
Copyright © CNU 2012-2022 www.cnu.com.cn All rights reserved.
鲁ICP备2022032383号-6
鲁公网安备37010202700502号