科技·商业·财经

江特电机等在浙江成立科技公司

   时间:2026-04-28 16:34 作者:企查查

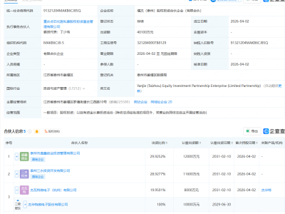
企查查APP显示,近日,尉尔(浙江)电机科技有限公司成立,法定代表人为赵三元,注册资本为1000万元,经营范围包含:电动机制造;电机制造;变压器、整流器和电感器制造;发电机及发电机组制造等。企查查股权穿透显示,该公司由江特电机(002176)全资子公司江西江特电机有限公司、桐乡恒川电机科技有限公司共同持股。

 
 
更多>同类内容
全站最新
热门内容