网界
手机网站
站内搜索
科技·商业·财经媒体
科技·商业·财经
网站首页
网络资讯
网界财经
科技人物
数据洞察
行业动态
智能出行
智能手机
数码极客
商业资讯
网界
滚动资讯
雷军回应“丢轮保车”争议:小米YU7用安全设计守护乘员舱安全
01-06
真我neo 8或携骁龙8Gen5登场,潜望长焦+165Hz屏,两千档再掀越级风暴
01-05
华为nova 15 Ultra评测:双红枫影像加持 轻薄机身下的全能新旗舰
01-05
荣耀Power2轻户外手机登场:超大电池超强通信,多维度配置亮点满满
01-05
性能新标杆!iQOO15 Ultra官宣春节前登场,配超大散热风扇与肩键
01-05
AI工具加速工作学习进程:读博时长能否因AI大幅缩短引热议
01-05
科大讯飞布局郑州:旗下公司全资成立新科技企业 聚焦人工智能等领域
雷军直播拆车揭秘:小米汽车20个月50万销量奇迹背后的故事
三星卢泰文谈内存芯片短缺:影响广泛 折叠屏或两三年内成主流
卢伟冰力挺红米Turbo 5 Max 网友热议:2.5K价位性能旗舰新选择来了
杜比牵手抖音,杜比视界助力创作者开启多元视觉叙事新篇章
联集科技家族创业图谱:董事长刘巧玲携子与婿共拓物业新版图
爱茉莉太平洋携Skinsight™等创新美容科技亮相CES2026展
智元机器人等于成都新设机器人公司
科大讯飞入股团好猫科技,后者含AI业务
中国中免在北京成立免税品公司,注册资本5亿
当前位置:
网界
>
行业动态
>
正文内容
中国卫星网络集团星网系列商标获批
时间:2026-01-06 00:57
作者:企查查
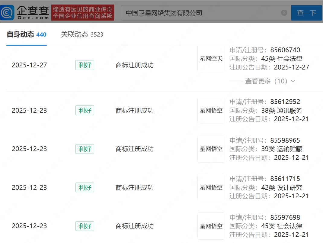
企查查APP显示,近日,中国卫星网络集团有限公司成功注册星网空天、星网经纬、星网纵横等星网系列商标,国际分类涉及社会法律、设计研究、通讯服务等。
更多
>
同类内容
乐聚机器人等在北京成立机器人技术新公司
01-06
开普云2亿元成立智能存储公司,含AI相关业务
01-06
小米汽车公布疲劳驾驶干预相关专利
01-06
蓝箭航天新专利可适应不同长度火箭的运输及起竖
01-06
荷兰全球人寿保险集团成立保险资产管理公司
01-06
诚益通等在成都成立脑维创芯科技公司
01-06
中石油华北油田新能源公司在雄安安新登记成立
01-06
中国航天科技集团商业火箭公司增资至13.96亿
01-06
江海股份等成立半导体技术新公司
01-06
雄安基金、河北国资等新设自动驾驶产投合伙企业
01-06
优必选投资成立智能科技公司
01-06
智元机器人灵巧手专利获授权,可精确控制手指动作轨迹和动作形态
01-06
北汽集团、地平线机器人成立智驭科技公司
01-06
国企混改基金入股曦望Sunrise,后者为国产GPU公司
01-06
国科军工等在江苏成立聚能防务科技公司
01-06
点击查看更多 +
全站最新
AI工具加速工作学习进程:读博时长能否因AI大幅缩短引热议
AI赋能与情绪消费双驱动:2025东南亚跨境电商新趋势与增长点解析
2026招投标行业新图景:五大趋势下如何把握决策核心竞争力
科技助力暖人心:科大讯飞外骨骼机器人与香港大埔共绘重建新画卷
科大讯飞布局郑州:旗下公司全资成立新科技企业 聚焦人工智能等领域
科大讯飞旗下企业于郑州新设科技公司 聚焦人工智能及智能机器人研发等业务
热门内容
HITFM、EasyFM、阅读之声等广播频率将停播 听众可转至新媒体平台继续享受内容
华懋科技入股集成电路封装研发商中科智芯
浙江社保科创基金、农业银行等新设股权投资企业,出资额80亿
格灵深瞳成立智能科技公司,含集成电路设计业务
曦华科技拟赴港上市:全球ASIC scaler龙头,出货量领先但尚未盈利
中国航天集团子公司增资至33.2亿
滴滴出行成立畅游科技公司,含小微型客车租赁业务
茅台基金等在青岛新设股权投资合伙企业
济南第9家盒马鲜生开业 山东市场活力尽显 消费与就业双轮驱动
华为nova 15系列12月22日发布,Ultra版配置升级亮点多引期待
康师傅饮品投资公司更换法人代表、董事长
上海国资、中国太保等新设企管合伙企业,出资额106亿
福建(厦门)社保科创股权投资基金成立,出资额200亿
荣耀WIN深度评测:超大电池配主动散热 打造电竞旗舰新标杆
滴滴出行成立畅游科技公司,含小微型客车租赁业务
本栏最新
张朝阳硬核科普跨年演讲:兴趣与企业战略共舞,开启知识直播新篇章
科大讯飞布局郑州:旗下公司全资成立新科技企业 聚焦人工智能等领域
雷军直播拆车揭秘:小米汽车20个月50万销量奇迹背后的故事
三星卢泰文谈内存芯片短缺:影响广泛 折叠屏或两三年内成主流
卢伟冰力挺红米Turbo 5 Max 网友热议:2.5K价位性能旗舰新选择来了
杜比牵手抖音,杜比视界助力创作者开启多元视觉叙事新篇章
联集科技家族创业图谱:董事长刘巧玲携子与婿共拓物业新版图
爱茉莉太平洋携Skinsight™等创新美容科技亮相CES2026展
智元机器人等于成都新设机器人公司
科大讯飞入股团好猫科技,后者含AI业务
中国中免在北京成立免税品公司,注册资本5亿
洋河股份、宿迁国资成立智能制造战新产业母基金,出资额15亿
贵州茅台成立爱茅台数字科技公司,注册资本6亿
广汽本田完成收购东风本田发动机公司
云从科技、深圳国资等成立智能科技投资基金
网界 - 新财经 新科技 新未来 - 网界传媒旗下网站 - 中国 · 北京
合作咨询 微信:netspread(注明:网界)
网界
®
是本公司38类注册商标,是该商标的唯一持有者,未经授本公司授权,严禁使用。
Copyright © CNU 2012-2022 www.cnu.com.cn All rights reserved.
鲁ICP备2022032383号-6