网界
手机网站
站内搜索
科技·商业·财经媒体
科技·商业·财经
网站首页
网络资讯
网界财经
科技人物
数据洞察
行业动态
智能出行
智能手机
数码极客
商业资讯
网界
滚动资讯
抖音携手杜比实验室 iPhone用户率先畅享创作与观看杜比视界新体验
01-06
红米Turbo5 Max官宣:9000mAh大电池配天玑9500s 2.5K档能否逆袭?
01-06
荣耀Power2深度体验:超长续航搭配旗舰通信,性能防水皆出色
01-06
OPPO印度推出A6 Pro 5G:7000mAh大电池搭配80W快充,续航实力强劲
01-06
荣耀Power2震撼登场:续航通信性能可靠性四维突破引领户外新风潮
01-06
TCL在CES 2026展会大放异彩,手机平板路由器新品亮点纷呈
01-06
OPPO印度推出A6 Pro 5G:7000mAh大电池搭配80W快充,续航实力强劲
抖音携手杜比实验室,iPhone用户率先畅享创作与观看杜比视界视频新体验
山东6家“双跨”平台通过评估!卡奥斯七连冠,工业互联网发展领跑全国
科大讯飞入股团好猫科技,后者含AI业务
中国中免在北京成立免税品公司,注册资本5亿
洋河股份、宿迁国资成立智能制造战新产业母基金,出资额15亿
贵州茅台成立爱茅台数字科技公司,注册资本6亿
广汽本田完成收购东风本田发动机公司
云从科技、深圳国资等成立智能科技投资基金
比亚迪在湖北宜昌成立电池新公司
当前位置:
网界
>
行业动态
>
正文内容
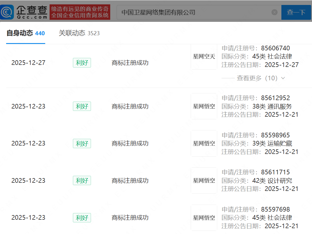
中国卫星网络集团星网系列商标获批
时间:2026-01-06 08:00
作者:企查查
企查查APP显示,近日,中国卫星网络集团有限公司成功注册星网空天、星网经纬、星网纵横等星网系列商标,国际分类涉及社会法律、设计研究、通讯服务等。
更多
>
同类内容
乐聚机器人等在北京成立机器人技术新公司
01-06
开普云2亿元成立智能存储公司,含AI相关业务
01-06
小米汽车公布疲劳驾驶干预相关专利
01-06
蓝箭航天新专利可适应不同长度火箭的运输及起竖
01-06
荷兰全球人寿保险集团成立保险资产管理公司
01-06
爱思达航天增资,增幅达212.13%
01-06
诚益通等在成都成立脑维创芯科技公司
01-06
中石油华北油田新能源公司在雄安安新登记成立
01-06
中国航天科技集团商业火箭公司增资至13.96亿
01-06
金天钛业、湖南国资等新设先进材料产业并购股权投资基金
01-06
江海股份等成立半导体技术新公司
01-06
雄安基金、河北国资等新设自动驾驶产投合伙企业
01-06
优必选投资成立智能科技公司
01-06
智元机器人灵巧手专利获授权,可精确控制手指动作轨迹和动作形态
01-06
北汽集团、地平线机器人成立智驭科技公司
01-06
点击查看更多 +
全站最新
ChatWiki:企业数字化转型利器,开源免费搭建专属AI知识问答平台
抖音携手杜比实验室,iPhone用户率先畅享创作与观看杜比视界视频新体验
禾赛科技年产能迈向400万新台阶,泰国新厂助力全球激光雷达布局升级
战略转向海外,菜鸟挥别无人车与速递,聚焦主业再启新征程
CES 2026前夕讯飞AI会议耳机升级,“你好,小万”开启会议办公生活新交互
CES 2026前瞻:石头科技轮足扫地机器人,引领家庭清洁迈向立体新时代
热门内容
HITFM、EasyFM、阅读之声等广播频率将停播 听众可转至新媒体平台继续享受内容
华懋科技入股集成电路封装研发商中科智芯
浙江社保科创基金、农业银行等新设股权投资企业,出资额80亿
格灵深瞳成立智能科技公司,含集成电路设计业务
曦华科技拟赴港上市:全球ASIC scaler龙头,出货量领先但尚未盈利
中国航天集团子公司增资至33.2亿
滴滴出行成立畅游科技公司,含小微型客车租赁业务
茅台基金等在青岛新设股权投资合伙企业
济南第9家盒马鲜生开业 山东市场活力尽显 消费与就业双轮驱动
华为nova 15系列12月22日发布,Ultra版配置升级亮点多引期待
康师傅饮品投资公司更换法人代表、董事长
上海国资、中国太保等新设企管合伙企业,出资额106亿
福建(厦门)社保科创股权投资基金成立,出资额200亿
荣耀WIN深度评测:超大电池配主动散热 打造电竞旗舰新标杆
滴滴出行成立畅游科技公司,含小微型客车租赁业务
本栏最新
OPPO印度推出A6 Pro 5G:7000mAh大电池搭配80W快充,续航实力强劲
抖音携手杜比实验室,iPhone用户率先畅享创作与观看杜比视界视频新体验
山东6家“双跨”平台通过评估!卡奥斯七连冠,工业互联网发展领跑全国
科大讯飞入股团好猫科技,后者含AI业务
中国中免在北京成立免税品公司,注册资本5亿
洋河股份、宿迁国资成立智能制造战新产业母基金,出资额15亿
贵州茅台成立爱茅台数字科技公司,注册资本6亿
广汽本田完成收购东风本田发动机公司
云从科技、深圳国资等成立智能科技投资基金
比亚迪在湖北宜昌成立电池新公司
食品添加剂新规发布,国内食品添加剂相关企业近70万,超四成在华东
DRAM制造商长鑫科技子公司增资至66.61亿元
鞍钢集团等成立材料科技公司
国投电力在云南成立售电公司,注册资本1亿元
上海电力成立热电公司,注册资本1亿元
网界 - 新财经 新科技 新未来 - 网界传媒旗下网站 - 中国 · 北京
合作咨询 微信:netspread(注明:网界)
网界
®
是本公司38类注册商标,是该商标的唯一持有者,未经授本公司授权,严禁使用。
Copyright © CNU 2012-2022 www.cnu.com.cn All rights reserved.
鲁ICP备2022032383号-6