网界
手机网站
站内搜索
科技·商业·财经媒体
科技·商业·财经
网站首页
网络资讯
网界财经
科技人物
数据洞察
行业动态
智能出行
智能手机
数码极客
商业资讯
网界
滚动资讯
马斯克称全美欺诈规模庞大:约占联邦预算一成 达每年七千亿
01-06
《2025胡润男企业家榜》揭晓,林木勤携东鹏饮料以场景化战略领跑行业
01-06
上天入浪,水陆空全“开战”:MOVA 携19条产品线登陆CES 2026!
01-06
英伟达CES发布新成果:机器人迎“ChatGPT时刻” 多款模型及硬件亮相
01-06
“文鳐”智慧海洋政务平台入选福建2025年AI典型案例 赋能多领域显成效
01-06
科大讯飞布局郑州:新公司成立,聚焦人工智能与智能机器人研发
01-06
上天入浪,水陆空全“开战”:MOVA 携19条产品线登陆CES 2026!
真我Neo8携三星屏震撼登场,潮玩电竞旗舰开启新年越级新体验
科大讯飞入股团好猫科技,后者含AI业务
中国中免在北京成立免税品公司,注册资本5亿
洋河股份、宿迁国资成立智能制造战新产业母基金,出资额15亿
贵州茅台成立爱茅台数字科技公司,注册资本6亿
广汽本田完成收购东风本田发动机公司
云从科技、深圳国资等成立智能科技投资基金
比亚迪在湖北宜昌成立电池新公司
食品添加剂新规发布,国内食品添加剂相关企业近70万,超四成在华东
当前位置:
网界
>
行业动态
>
正文内容
中国卫星网络集团星网系列商标获批
时间:2026-01-06 16:17
作者:企查查
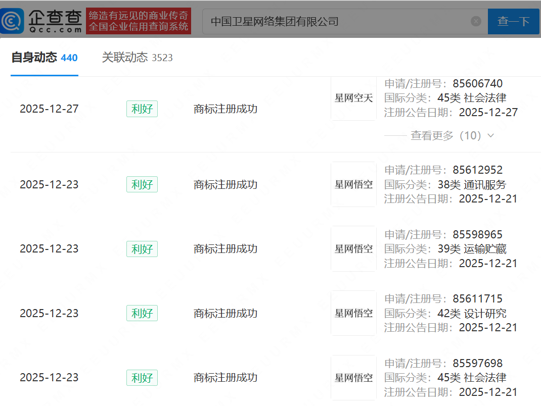
企查查APP显示,近日,中国卫星网络集团有限公司成功注册星网空天、星网经纬、星网纵横等星网系列商标,国际分类涉及社会法律、设计研究、通讯服务等。
更多
>
同类内容
乐聚机器人等在北京成立机器人技术新公司
01-06
开普云2亿元成立智能存储公司,含AI相关业务
01-06
小米汽车公布疲劳驾驶干预相关专利
01-06
蓝箭航天新专利可适应不同长度火箭的运输及起竖
01-06
荷兰全球人寿保险集团成立保险资产管理公司
01-06
爱思达航天增资,增幅达212.13%
01-06
诚益通等在成都成立脑维创芯科技公司
01-06
中石油华北油田新能源公司在雄安安新登记成立
01-06
中国航天科技集团商业火箭公司增资至13.96亿
01-06
金天钛业、湖南国资等新设先进材料产业并购股权投资基金
01-06
江海股份等成立半导体技术新公司
01-06
雄安基金、河北国资等新设自动驾驶产投合伙企业
01-06
优必选投资成立智能科技公司
01-06
智元机器人灵巧手专利获授权,可精确控制手指动作轨迹和动作形态
01-06
北汽集团、地平线机器人成立智驭科技公司
01-06
点击查看更多 +
全站最新
上天入浪,水陆空全“开战”:MOVA 携19条产品线登陆CES 2026!
字节跳动DLCM与DeepSeek mHC:中国AI开年双剑合璧拓新局
抖音企业号从0到1难?三款工具评测,助你破解注册与冷启动困局
AI新变革:“按需显化”即时软件崛起,巨头基建与创业创新共筑产业新未来
骁龙X2 Plus登场:为专业创作者打造,超长续航高速性能与AI体验兼备
法雷奥携手Seeing Machines,CES2026展出创新舱内监控安全新方案
热门内容
HITFM、EasyFM、阅读之声等广播频率将停播 听众可转至新媒体平台继续享受内容
华懋科技入股集成电路封装研发商中科智芯
浙江社保科创基金、农业银行等新设股权投资企业,出资额80亿
格灵深瞳成立智能科技公司,含集成电路设计业务
曦华科技拟赴港上市:全球ASIC scaler龙头,出货量领先但尚未盈利
中国航天集团子公司增资至33.2亿
滴滴出行成立畅游科技公司,含小微型客车租赁业务
茅台基金等在青岛新设股权投资合伙企业
济南第9家盒马鲜生开业 山东市场活力尽显 消费与就业双轮驱动
华为nova 15系列12月22日发布,Ultra版配置升级亮点多引期待
康师傅饮品投资公司更换法人代表、董事长
上海国资、中国太保等新设企管合伙企业,出资额106亿
福建(厦门)社保科创股权投资基金成立,出资额200亿
荣耀WIN深度评测:超大电池配主动散热 打造电竞旗舰新标杆
滴滴出行成立畅游科技公司,含小微型客车租赁业务
本栏最新
蔚来第100万台量产车下线,李斌称对2025年四季度盈利满怀信心
上天入浪,水陆空全“开战”:MOVA 携19条产品线登陆CES 2026!
真我Neo8携三星屏震撼登场,潮玩电竞旗舰开启新年越级新体验
科大讯飞入股团好猫科技,后者含AI业务
中国中免在北京成立免税品公司,注册资本5亿
洋河股份、宿迁国资成立智能制造战新产业母基金,出资额15亿
贵州茅台成立爱茅台数字科技公司,注册资本6亿
广汽本田完成收购东风本田发动机公司
云从科技、深圳国资等成立智能科技投资基金
比亚迪在湖北宜昌成立电池新公司
食品添加剂新规发布,国内食品添加剂相关企业近70万,超四成在华东
DRAM制造商长鑫科技子公司增资至66.61亿元
鞍钢集团等成立材料科技公司
国投电力在云南成立售电公司,注册资本1亿元
上海电力成立热电公司,注册资本1亿元
网界 - 新财经 新科技 新未来 - 网界传媒旗下网站 - 中国 · 北京
合作咨询 微信:netspread(注明:网界)
网界
®
是本公司38类注册商标,是该商标的唯一持有者,未经授本公司授权,严禁使用。
Copyright © CNU 2012-2022 www.cnu.com.cn All rights reserved.
鲁ICP备2022032383号-6