科技·商业·财经

海尔新能源陆续全资收购多家新能源公司

   时间:2026-01-08 16:40 作者:企查查

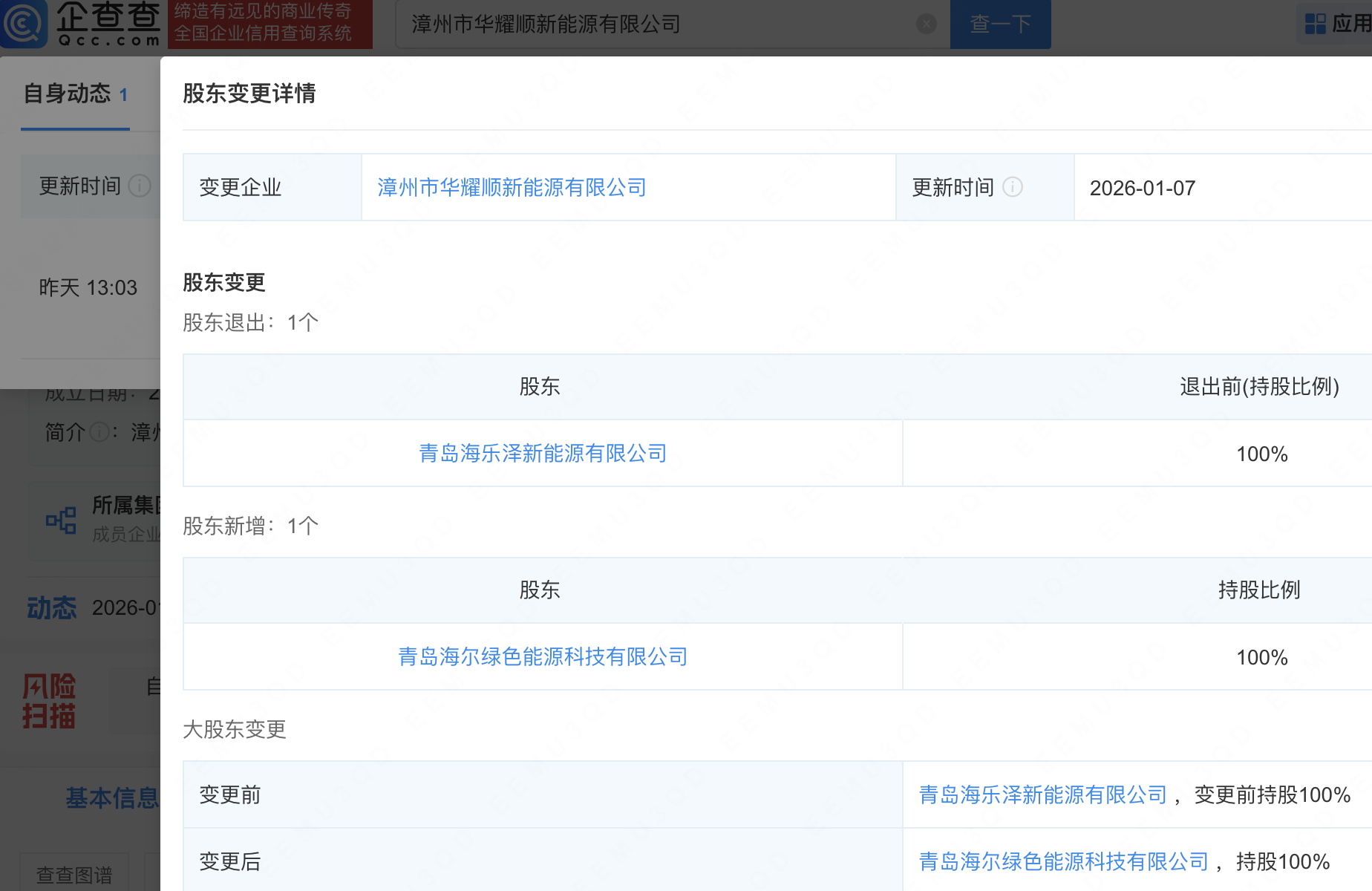
企查查APP显示,近日,漳州市华耀顺新能源有限公司发生工商变更,原股东青岛海乐泽新能源有限公司退出,新增海尔新能源科技股份有限公司全资子公司青岛海尔绿色能源科技有限公司为全资股东。企查查信息显示,近期,四川海乐汇新能源科技有限公司、徐州海乐顺新能源有限公司、云南海启顺新能源有限公司等多家公司陆续发生工商变更,均由青岛海尔绿色能源科技有限公司接盘100%股权。

 
 
更多>同类内容
全站最新
热门内容