网界
手机网站
站内搜索
科技·商业·财经媒体
科技·商业·财经
网站首页
网络资讯
网界财经
科技人物
数据洞察
行业动态
智能出行
智能手机
数码极客
商业资讯
网界
滚动资讯
科大讯飞三款学习机大比拼:护眼高效资源全,哪款更适合你家娃?
04-05
小米首款风冷旗舰REDMI K90至尊版将至 散热续航双升级 价格或成悬念
04-05
iPhone 18 Pro模具曝光灵动岛缩小,深红配色测试或成新机亮点
04-05
2026年三款16GB+512GB新机获超高好评,配置亮点多性价比高成零差评之选
04-05
荣耀X80i来袭:金属中框配1.5K屏,7000mAh大电池,定价1999元引关注
04-05
武汉“萝卜快跑”无人驾驶出租车集体停摆,安全兜底成发展关键议题
04-05
2026年三款16GB+512GB新机获超高好评,配置亮点多性价比高成零差评之选
武汉“萝卜快跑”无人出租车集体“罢工” 安全兜底难题待解
强一股份业绩飙升引关注 芯片测试产业量价齐升 优质概念股名单揭晓
文本智能新纪元:2026多模态大模型引领企业决策变革
马斯克对话新洞察:AI与机器人驱动,人类或步入全民高收入新纪元
世纪鼎利成立智擘科技公司,含AI及物联网业务
大唐发电在河北涞源成立电力科技公司
方直科技成立新公司,含智能机器人研发业务
杰华特在北京成立微电子技术公司
华体科技等在内蒙古成立数字能源技术公司
当前位置:
网界
>
行业动态
>
正文内容
方直科技成立新公司,含智能机器人研发业务
时间:2026-04-06 00:25
作者:企查查
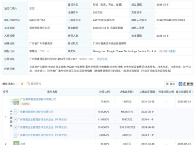
企查查APP显示,近日,方直智汇(北京)科技有限公司成立,经营范围包含:组织文化艺术交流活动;数据处理服务;智能机器人的研发等。企查查股权穿透显示,该公司由方直科技(300235)间接全资持股。
更多
>
同类内容
世运电路等成立科技公司,含集成电路业务
04-06
华体科技等在内蒙古成立数字能源技术公司
04-06
中国国新等在广东成立新公司,注册资本20亿
04-06
斑马智行申请注册carclaw商标
04-06
正大制药等在珠海成立私募股权基金管理公司
04-06
海正药业等成立动物营养科技公司
04-06
中国康富等在天津新设新能源投资合伙企业
04-06
韶能股份新设投资发展公司,注册资本10亿元
04-06
江淮汽车在上海成立尊界智行汽车科技公司
04-06
华谊集团投资成立化工公司,注册资本1亿元
04-06
航宇微在广东成立科技发展公司,含AI及卫星相关业务
04-06
魔法原子申请注册Magiclab panda商标
04-06
冰轮环境在烟台成立国际贸易公司
04-06
盈趣科技等成立新公司,含无人飞行器业务
04-06
鹏辉能源等投资成立出行科技服务公司
04-06
点击查看更多 +
全站最新
科大讯飞三款学习机大比拼:护眼高效资源全,哪款更适合你家娃?
武汉“萝卜快跑”无人驾驶出租车集体停摆,安全兜底成发展关键议题
武汉“萝卜快跑”无人出租车集体“罢工” 安全兜底难题待解
强一股份业绩飙升引关注 芯片测试产业量价齐升 优质概念股名单揭晓
世纪鼎利成立智擘科技公司,含AI及物联网业务
大唐发电在河北涞源成立电力科技公司
热门内容
OPPO Find N6官宣3月17日登场:折叠屏升级+旗舰配置,起售价或8999元
创想三维二次递表港交所:全球消费级3D打印市场领先,近年利润波动引关注
软通动力投资成立智芯技术公司
岚图梦想家冠军版限量上市:30万级唯一华为智驾MPV,续航超1400km
宁德时代2025年狂揽722亿净利 拟分红超315亿 储能成新增长极
产能全开备货忙,试驾好评不断,雷军如何让小米SU7交付“加速跑”?
一文回顾去年3・15被曝光企业
赛力斯新专利可基于面部特征等识别用户情绪
京东深陷危机四面楚歌?员工直言老板纳谏,破局革新未来可期
宁德时代在苏州成立时代新能科技公司,注册资本20亿
低空经济蓄势起飞!相关企业已超16万家,去年注册量同比增长近140%
一文回顾去年3・15被曝光企业
蓝箭航天1.7亿北京拿地
华润置地、无锡国资成立文化体育发展公司
东阳光、利通电子等成立智算数据服务公司
本栏最新
美开发持久耐用核动力光伏电池!今年光伏相关企业已注册超5万家
2026年三款16GB+512GB新机获超高好评,配置亮点多性价比高成零差评之选
武汉“萝卜快跑”无人出租车集体“罢工” 安全兜底难题待解
强一股份业绩飙升引关注 芯片测试产业量价齐升 优质概念股名单揭晓
文本智能新纪元:2026多模态大模型引领企业决策变革
马斯克对话新洞察:AI与机器人驱动,人类或步入全民高收入新纪元
世纪鼎利成立智擘科技公司,含AI及物联网业务
大唐发电在河北涞源成立电力科技公司
方直科技成立新公司,含智能机器人研发业务
杰华特在北京成立微电子技术公司
世运电路等成立科技公司,含集成电路业务
华体科技等在内蒙古成立数字能源技术公司
中国石化资本等成立现代石化新材料产业基金,出资额50亿
中国国新等在广东成立新公司,注册资本20亿
斑马智行申请注册carclaw商标
网界 - 新财经 新科技 新未来 - 网界传媒旗下网站 - 中国 · 北京
合作咨询 微信:netspread(注明:网界)
网界
®
是本公司38类注册商标,是该商标的唯一持有者,未经授本公司授权,严禁使用。
Copyright © CNU 2012-2022 www.cnu.com.cn All rights reserved.
鲁ICP备2022032383号-6
鲁公网安备37010202700502号