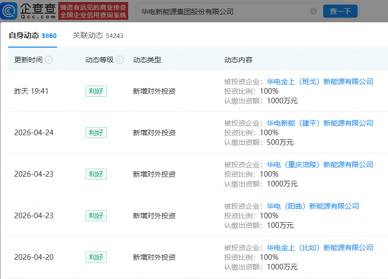
企查查APP显示,近日,华电金上(班戈)新能源有限公司成立,法定代表人为朱岳钢,注册资本为1000万元,经营范围包含:发电技术服务;太阳能发电技术服务;风力发电技术服务;工程技术服务等,由华电新能(600930)全资持股。企查查显示,近期,华电新能已连续成立多家新能源子公司。


企查查APP显示,近日,华电金上(班戈)新能源有限公司成立,法定代表人为朱岳钢,注册资本为1000万元,经营范围包含:发电技术服务;太阳能发电技术服务;风力发电技术服务;工程技术服务等,由华电新能(600930)全资持股。企查查显示,近期,华电新能已连续成立多家新能源子公司。

