网界
手机网站
站内搜索
科技·商业·财经媒体
科技·商业·财经
网站首页
网络资讯
网界财经
科技人物
数据洞察
行业动态
智能出行
智能手机
数码极客
商业资讯
网界
滚动资讯
马斯克联手英特尔建巨型晶圆厂,台积电霸主地位或迎强劲挑战?
04-30
格力电器2025年营收1704亿:净利下滑近一成 豪派112亿红利 董明珠分得2亿
04-30
中国电信柯瑞文:依托智能云体系 推进Token经营 赋能AI规模应用
04-30
2025家电高管年薪揭晓:海尔美的格力领衔,分红水平亦居行业前列
04-30
检索增强新突破:为机器人装上“三维空间导航仪” 提升操作精准度
04-30
领跑全球新能源赛道!比亚迪携全矩阵产品闪耀2026北京车展
04-30
糟粕醋热度飙升成餐饮新宠!餐厅如何借供应链打造差异化爆款?
“增收不增利”表象下:石头科技以技术普惠与全球化布局谋长远发展
烟花爆竹新国标5月1日实施!企查查:相关企业多成立三年内
国产开源大模型下载量破100亿,企查查:人工智能相关专利超十万项
杰创智能成立科技公司,含多项AI业务
中兴通讯等成立云计算公司
宁波国资、美的集团等成立创投合伙企业
正泰电器等成立生物科技公司
舒华体育在吉林成立科技公司,含体育赛事策划业务
明阳智能新设科技公司,含新能源原动设备制造业务
当前位置:
网界
>
行业动态
>
正文内容
中国信达等在芜湖新设股权投资合伙企业
时间:2026-04-30 16:46
作者:企查查
企查查APP显示,近日,芜湖信发建兴纾困股权投资合伙企业(有限合伙)成立,经营范围包含:以自有资金从事投资活动。企查查股权穿透显示,该企业由中国信达(01359.HK)等共同出资。
更多
>
同类内容
智能眼镜销量爆发式增长,企查查:十年间相关专利量增长超10倍
04-30
雅安低空产业发展公司成立,含航空及卫星相关业务
04-30
宁德时代在西安投资成立新公司,含机动车充电销售业务
04-30
黑猫股份等成立碳材料科技公司,注册资本5亿元
04-30
中信金融资产、首创证券新设股权投资基金,出资额100亿
04-30
茂莱光学成立光互连科技公司
04-30
天赐材料在广州成立新材料技术公司
04-30
智元机器人在无锡成立科技公司
04-30
成大生物10亿元成立医药科技新公司,含AI业务
04-30
民爆光电成立精密科技公司,含AI及机器人业务
04-30
中贝通信等新设涟邦启源创投合伙企业
04-30
众辰科技等成立具身智能科技股份公司
04-30
中国高科成立科技新公司,含集成电路芯片业务
04-30
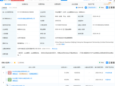
中国电信成立量子企管合伙企业
04-30
润建股份等成立苍穹智空科技公司
04-30
点击查看更多 +
全站最新
俞浩“炮轰”小红书:维权之争背后,品牌与平台的信任裂缝何解?
领跑全球新能源赛道!比亚迪携全矩阵产品闪耀2026北京车展
比亚迪闪耀2026北京车展:全矩阵产品亮相,领航新能源技术新高度
技术赋能全矩阵出击!比亚迪包馆E3馆闪耀2026北京国际车展
领跑全球新能源赛道!比亚迪携全矩阵产品闪耀2026北京车展
技术赋能品牌向上!比亚迪全矩阵产品闪耀2026北京国际车展
热门内容
海正药业等成立动物营养科技公司
国产GPU厂商曦望密集增资
预算有限别盲选新机,1239元荣耀Magic4老旗舰,体验超值不妥协
宇树科技申请的机器狗专利获授权
复星医药在珠海成立医药科技公司
思格新能源港股IPO前夕:业绩狂飙背后负债攀升与单价下行之困
保隆科技成立智感机器人公司
2026车载激光雷达“千线”争霸:华为禾赛速腾三强逐鹿,谁能笑傲市场?
卓胜微等成立科技新公司,含集成电路芯片业务
郑州山姆商业零售登记成立
雅江集团、中国电建等成立水电技术创新中心,注册资本20亿
华润新能源、中国建筑成立新能源公司
赛力斯车载便器相关专利获授权,可隐藏在座椅下方
抢占万亿蓝海,国产算力链全面突围!
OpenAI聚焦核心业务:科学研究项目与Sora项目负责人相继离职
本栏最新
减速机订单已排到明年!企查查:国内减速机相关专利已超20万项
糟粕醋热度飙升成餐饮新宠!餐厅如何借供应链打造差异化爆款?
“增收不增利”表象下:石头科技以技术普惠与全球化布局谋长远发展
烟花爆竹新国标5月1日实施!企查查:相关企业多成立三年内
国产开源大模型下载量破100亿,企查查:人工智能相关专利超十万项
杰创智能成立科技公司,含多项AI业务
中兴通讯等成立云计算公司
宁波国资、美的集团等成立创投合伙企业
正泰电器等成立生物科技公司
舒华体育在吉林成立科技公司,含体育赛事策划业务
明阳智能新设科技公司,含新能源原动设备制造业务
魔法原子在无锡成立方舟机器人科技公司
宇树科技清洁机器人专利获授权,可对卫生死角位置有效清洁
DeepSeek创始人增持深度求索公司,后者增资50%
特锐德、新石器投资成立来电岛无人车运营公司
网界 - 新财经 新科技 新未来 - 网界传媒旗下网站 - 中国 · 北京
合作咨询 微信:netspread(注明:网界)
网界
®
是本公司38类注册商标,是该商标的唯一持有者,未经授本公司授权,严禁使用。
Copyright © CNU 2012-2022 www.cnu.com.cn All rights reserved.
鲁ICP备2022032383号-6
鲁公网安备37010202700502号