科技·商业·财经

天弘基金、山东国资等在淄博成立企管合伙企业,出资额约58亿

   时间:2026-01-20 00:38 作者:企查查

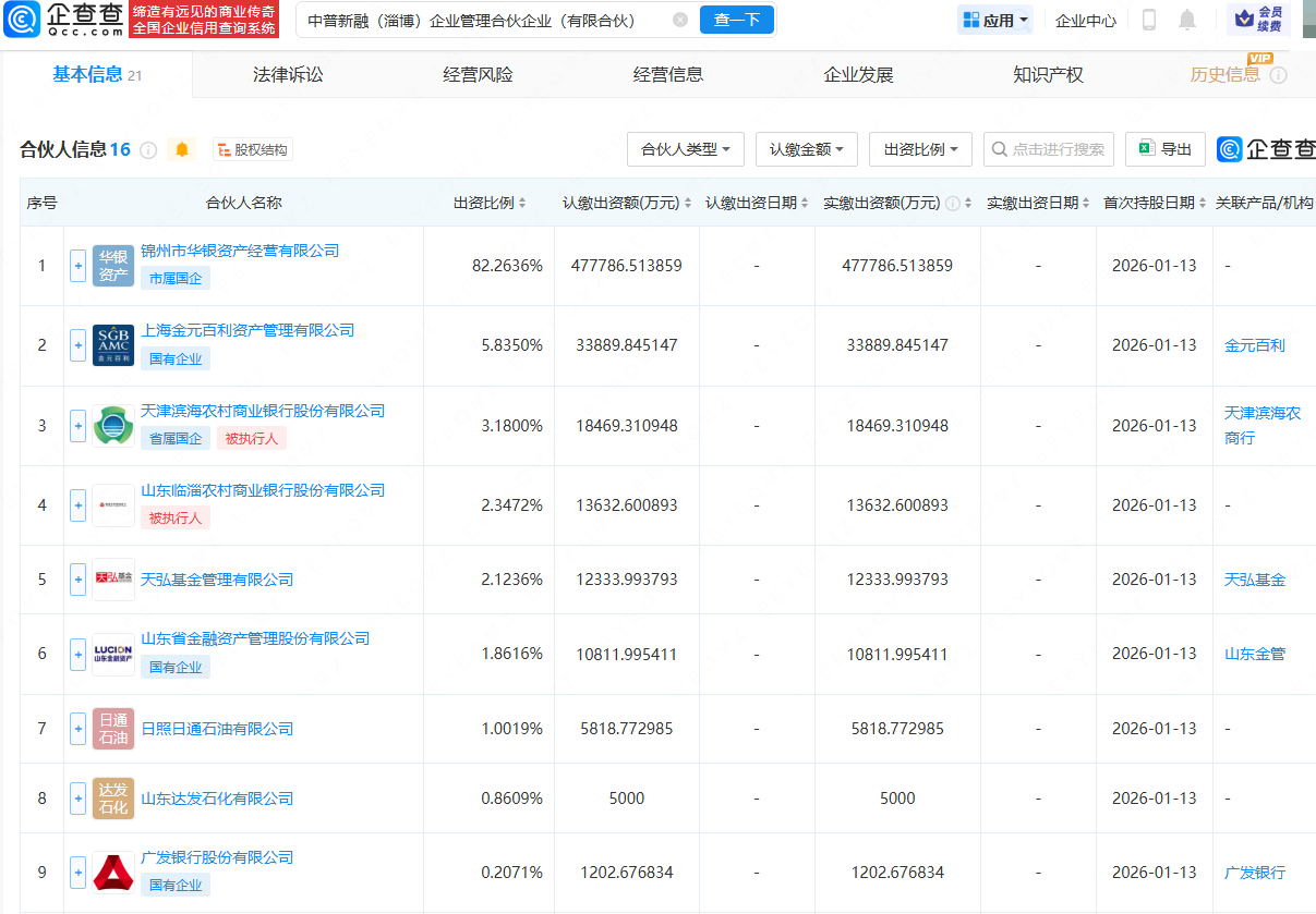
企查查APP显示,近日,中普新融(淄博)企业管理合伙企业(有限合伙)成立,出资额约58亿元,经营范围包含:企业总部管理;企业管理;企业管理咨询。企查查股权穿透显示,该合伙企业由天弘基金管理有限公司、山东省金融资产管理股份有限公司等共同持股。

 
 
更多>同类内容
全站最新
热门内容