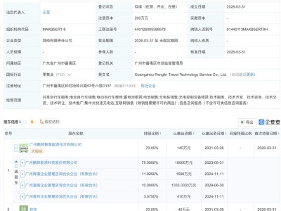
企查查APP显示,近日,绿通华畅(内蒙古)数字能源技术有限公司成立,注册资本3000万元,经营范围包含:电动汽车充电基础设施运营;集中式快速充电站;智能输配电及控制设备销售;新能源汽车换电设施销售等。企查查股权穿透显示,该公司由华体科技(603679)等共同持股。

企查查APP显示,近日,绿通华畅(内蒙古)数字能源技术有限公司成立,注册资本3000万元,经营范围包含:电动汽车充电基础设施运营;集中式快速充电站;智能输配电及控制设备销售;新能源汽车换电设施销售等。企查查股权穿透显示,该公司由华体科技(603679)等共同持股。
