科技·商业·财经

中岩大地等成立科技公司,含半导体器件相关业务

   时间:2026-04-20 00:34 作者:企查查

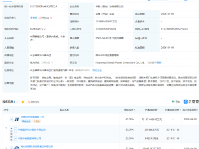
企查查APP显示,近日,成都高新束研大地科技有限公司成立,注册资本1500万元,经营范围包含:电工机械专用设备制造;电子专用设备制造;半导体器件专用设备制造;半导体器件专用设备销售等。企查查股权穿透显示,该公司由中岩大地(003001)全资子公司北京中岩大地星核科技有限公司等共同持股。

 
 
更多>同类内容
全站最新
热门内容