科技·商业·财经

运达股份、中国铁建等成立生物质能源公司

   时间:2026-04-21 17:12 作者:企查查

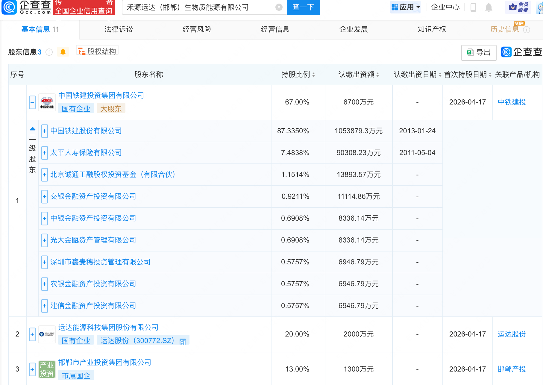
企查查APP显示,近日,禾源运达(邯郸)生物质能源有限公司成立,注册资本1亿元,经营范围包含:生物质成型燃料销售;生物质能技术服务;生物质液体燃料生产工艺研发等。企查查股权穿透显示,该公司由中国铁建(601186)旗下中国铁建投资集团有限公司、运达股份(300772)等共同持股。

 
 
更多>同类内容
全站最新
热门内容