科技·商业·财经

宁德时代成立新能源公司,含热力生产和供应业务

   时间:2026-04-21 17:13 作者:企查查

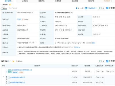
企查查APP显示,近日,北京润时新能源有限公司成立,经营范围包含:太阳能发电技术服务;热力生产和供应;合同能源管理;在线能源计量技术研发等。企查查股权穿透显示,该公司由宁德时代(300750)间接全资持股。

 
 
更多>同类内容
全站最新
热门内容